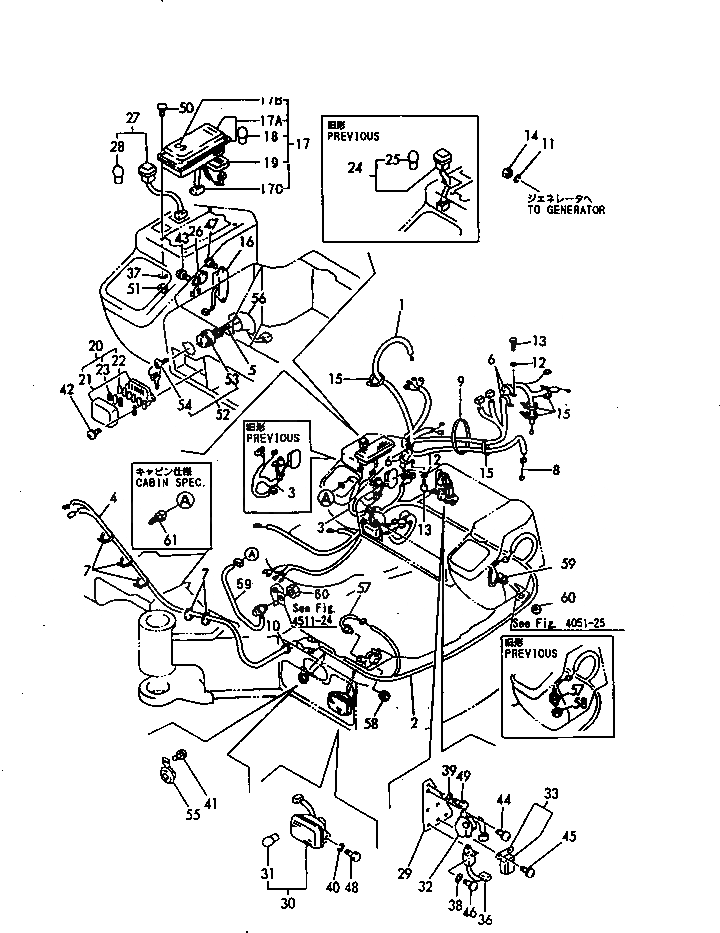
Запчасти Komatsu PC40FR-1 ЭЛЕКТРИКА (ШАССИ)(№-) КОМПОНЕНТЫ ДВИГАТЕЛЯ И ЭЛЕКТРИКА

Схема запчастей Komatsu PC40FR-1 - ЭЛЕКТРИКА (ШАССИ)(№-) КОМПОНЕНТЫ ДВИГАТЕЛЯ И ЭЛЕКТРИКА
FIT
1:1
100%

Артикул

Название

Примечание

Количество

1

YM172964-16500

HARNESS

2

YM172964-16511

HARNESS

|2

YM172964-16510

HARNESS

3

YM172164-16523

HARNESS

|3

YM172164-16522

HARNESS

|3

YM172164-16521

HARNESS

4

YM172151-16531

WIRE,LEAD

5

YM172165-16530

HARNESS

6

YM172126-16540

CLAMP

7

YM172137-16560

BAND

8

YM172183-16540

LINK,FUSIBLE

9

YM194250-51660

BAND

10

YM1A1380-58050

GROMMET

11

YM22217-050000

WASHER

12

YM22217-100000

WASHER

13

YM26116-100162

BOLT

14

YM26716-050002

NUT

15

YM933152-09280

BAND

16

YM172151-17100

LAMP

17

YM172162-17101

BOX ASS'Y,INDICATOR

17A

YM172162-17270

COVER

17B

YM172162-17240

FO METER ASS'Y

17C

YM172162-17250

HARNESS

18

YM172162-17120

VALVE

19

YM172162-17130

HOURMETER

20

YM172164-17100

FUSE BOX

21

YM172164-17110

BOX,FUSE

22

YM29420-150000

FUSE

23

YM29420-300000

FUSE

24

YM172164-17121

SWITCH

|24

YM172164-17120

SWITCH

25

YM172141-17230

BULB

26

YM172141-17150

BUZZER

27

YM172141-17190

SWITCH,WORK LAMP

28

YM172141-17230

BULB

29

YM172164-17250

BRACKET,RELAY

30

YM172162-17410

LAMP ASS'Y

31

YM29220-788200

BULB

32

YM129136-77100

RELAY,SAFETY

33

YM119650-77910

RELAY,GLOW

36

YM119632-77922

TIMER

|36

YM119632-77921

TIMER

|36

YM119632-77920

TIMER

37

YM22137-040000

WASHER

38

YM22137-060000

WASHER

39

YM22217-080000

WASHER

40

YM22217-080000

WASHER

41

YM26013-060122

BOLT

42

YM26022-050162

SCREW

43

YM26022-060122

SCREW

44

YM26022-060122

SCREW

45

YM26022-060122

SCREW

46

YM26022-060162

SCREW

47

YM26022-060202

SCREW

48

YM26116-080162

BOLT

49

YM26116-080202

BOLT

50

YM26589-040202

SCREW

51

YM26716-040002

NUT

52

YM172964-17010

SWITCH ASS'Y,STARTER

53

YM933110-00200

SWITCH ASS'Y,STARTER

54

KEY ASS'Y

55

YM933110-05300

HORN

56

YM933113-15900

COVER

57

YM194464-52190

SWITCH,SAFETY START

|57

YM194464-52190

SWITCH

58

YM26776-180002

NUT,LOCK

|58

YM26776-180002

NUT

59

YM172164-17140

SWITCH,(CANOPY SPEC.)

|59

YM172164-17140

SWITCH,(CANOPY SPEC.)

|59

YM172164-17140

SWITCH,(CABIN SPEC.)

60

YM26776-160002

NUT,(CANOPY SPEC.)

|60

YM26776-160002

NUT,(CANOPY SPEC.)

|60

YM26776-160002

NUT,(CABIN SPEC.)

61

YM172190-16500

HARNESS,(CABIN SPEC.)

Выбрано товаров: 74