Запчасти Komatsu PC40FR-1 ЦИЛИНДР СТРЕЛЫ(ДЛЯ НАВЕСА) РАБОЧЕЕ ОБОРУДОВАНИЕ

Схема запчастей Komatsu PC40FR-1 - ЦИЛИНДР СТРЕЛЫ(ДЛЯ НАВЕСА) РАБОЧЕЕ ОБОРУДОВАНИЕ
FIT
1:1
100%

Артикул

Название

Примечание

Количество

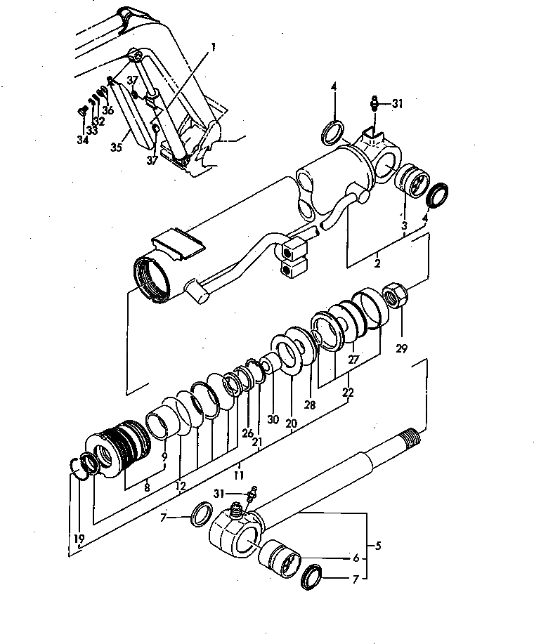
1

YM172164-72101

CYLINDER,BOOM

2

YM172164-72111

TUBE,BOOM

3

YM172146-72310

BUSHING

4

YM933126-44500

SEAL,DUST

5

YM172164-72200

ROD,BOOM

6

YM172146-72310

BUSHING

7

YM933126-44500

SEAL,DUST

8

YM172312-72200

HEAD

9

YM172151-72540

BUSHING,ROD

11

YM172164-72300

CYLINDER KIT,BOOM

12

YM172164-72310

SEAL SET,HEAD

19

YM933111-26700

RING,SPRING

20

YM172151-72870

WASHER

21

YM22252-000701

CLIP

22

YM172164-72320

SEAL SET,PISTON

26

YM172130-72800

RING,CUSHION

27

YM172312-72220

PISTON

28

YM172312-72141

SPACER

29

YM172151-72270

U-NUT

30

YM172312-72100

PLUNGER,CUSHION

31

YM24761-020000

FITTING,GREASE

32

YM933147-03400

WASHER

33

YM22217-100000

WASHER

34

YM26116-100162

BOLT

35

YM172165-72351

COVER,(GREEN)

36

YM933168-14170

SPRING

37

YM172162-61770

GUIDE,SLIDE

Выбрано товаров: 0