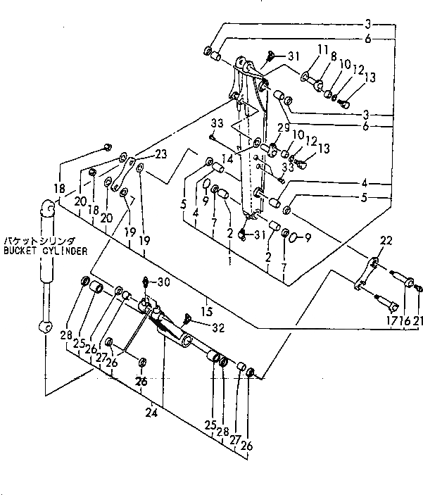
Запчасти Komatsu PC40FR-2 РУКОЯТЬ И СОЕДИНЕНИЕ КОВША РАБОЧЕЕ ОБОРУДОВАНИЕ

Схема запчастей Komatsu PC40FR-2 - РУКОЯТЬ И СОЕДИНЕНИЕ КОВША РАБОЧЕЕ ОБОРУДОВАНИЕ
FIT
1:1
100%

Артикул

Название

Примечание

Количество

1

YM172923-81200

ARM ASS'Y

2

YM172964-81330

BUSHING

3

YM172168-81410

SEAL,DUST

4

YM172164-81880

BUSHING,PIN

5

YM172122-82290

SEAL,DUST

6

YM172112-83500

BUSHING

7

YM933126-44500

SEAL,DUST

8

YM17242381600K

PIN

9

YM172142-81620

O-RING

10

YM172164-81670

SPACER

11

YM172112-87840

SHIM

12

YM22157-120000

WASHER

13

YM26013-120302

BOLT

14

YM933171-29751

SHIM SET

15

YM17216481960K

PIN KIT,ARM PIN

16

YM17216481830K

PIN

17

YM17216481850K

PIN

18

YM933110-86600

NUT,NYLON

19

YM933171-29751

SHIM SET

20

YM933171-29760

WASHER

21

YM24761-020000

FITTING,GREASE

22

YM17216481810K

ARM,BUCKET

23

YM17216481820K

ARM,BUCKET

24

YM172964-84400

LINK,BUCKET

25

YM172964-81330

BUSHING

26

YM172122-82290

SEAL,DUST

27

YM172168-84411

BUSHING

28

YM933126-44500

SEAL,DUST

29

YM17216481500K

PIN

30

YM24761-020000

FITTING,GREASE

31

YM24761-040000

FITTING,GREASE

32

YM24761-040000

FITTING,GREASE

33

YM172183-81160

CLIP

Выбрано товаров: 33