Запчасти Komatsu PC40MR-1 ПЕРЕДН. КРЫШКА(КРОМЕ ЯПОН.) ЧАСТИ КОРПУСА

Схема запчастей Komatsu PC40MR-1 - ПЕРЕДН. КРЫШКА(КРОМЕ ЯПОН.) ЧАСТИ КОРПУСА
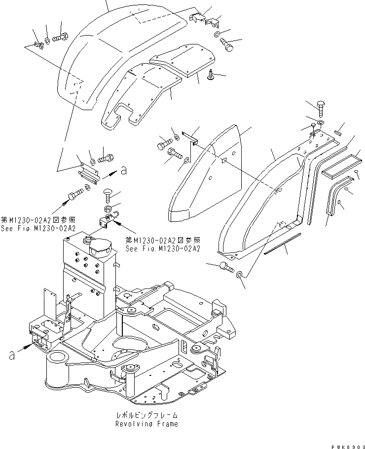
1
2
3
4
5
6
7
8
9
10
11
12
13
13
14
14
15
16
17
18
19
20
21
21
21
22
23
24
25
26
27
28
29
29
30
30
FIT
1:1
100%

Артикул

Название

Примечание

Количество

|$5

22M-54-19401

COVER ASS'Y

|$6

22M-54-19400

COVER ASS'Y

1

22M-54-11361

COVER

2

22M-54-19490

SHEET

3

22M-54-19480

SHEET

4

22M-54-19160

CLIP

5

22M-54-11950

LOCK ASS'Y

6

20Y-54-11611

STOPPER

7

01580-11008

NUT

8

22M-54-11943

BRACKET

9

01010-81020

BOLT

10

01643-31032

WASHER

11

22M-54-11461

BRACKET

12

22M-54-11930

HINGE

13

01010-81020

BOLT

14

01643-31032

WASHER

|$23

22M-54-11101

COVER ASS'Y

15

22M-54-11352

COVER

16

22M-54-19570

SEAL

17

22M-54-19580

SEAL

18

22M-54-19590

SHEET

19

22M-54-19140

STOPPER

20

22M-54-19450

SHEET

21

22F-54-11380

WASHER

22

22M-54-19460

SHEET

23

22M-54-19620

TRIM

24

01010-81225

BOLT

25

01643-31232

WASHER

26

01010-81025

BOLT

27

01643-31032

WASHER

28

22M-54-11480

BRACKET

29

01010-81020

BOLT

30

01643-31032

WASHER

Выбрано товаров: 33