Качественные детали и логистика
Оригинальные и аналоговые запчасти с доставкой по России, Казахстану и Беларуси
©2022 PartSell ООО "Система" ИНН 2463123282 ОГРН 1212400004838
Центральный офис: г. Красноярск, Академика Киренского, д.87, пом.4
Телефон: 8 (800) 777-65-74 Email: zakaz@partsell.ru
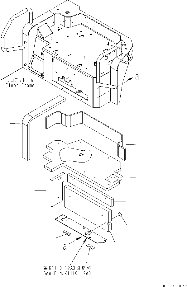
ОСНОВН. КОНСТРУКЦИЯ (ЩИТКИ) (НАВЕС)
№
Артикул
Название
Примечание
Количество
1
22M-54-23312
SHEET
2
22M-54-23323
3
22M-54-23330
4
22M-54-23351
5
22M-54-23360
6
22F-54-11380
WASHER
7
22M-54-23160
8
22M-54-23420
Выбрано товаров: 0