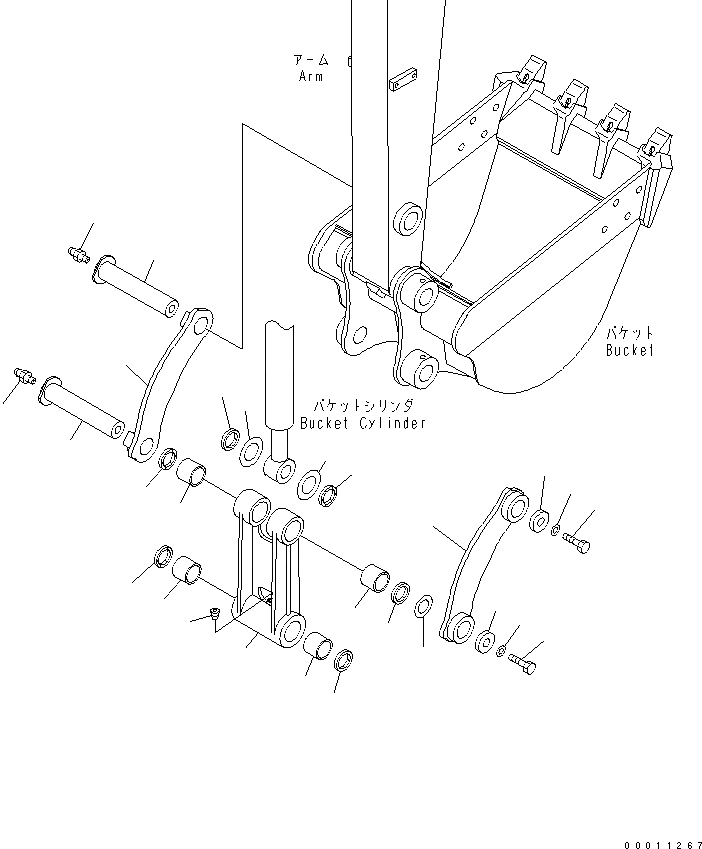
Запчасти Komatsu PC40MR-2 СОЕДИНЕНИЕ КОВША РАБОЧЕЕ ОБОРУДОВАНИЕ

Схема запчастей Komatsu PC40MR-2 - СОЕДИНЕНИЕ КОВША РАБОЧЕЕ ОБОРУДОВАНИЕ
1
2
2
2
2
3
3
3
3
3
3
4
5
6
7
7
8
8
9
9
10
10
11
11
12
12
13
FIT
1:1
100%

Артикул

Название

Примечание

Количество

|$2

22N-70-00060

LINK ASS'Y

1

LINK

2

22M-70-21740

BUSHING

3

20U-70-42530

SEAL

4

07043-70108

PLUG

5

22N-70-11550

LINK

6

22N-70-11561

LINK

7

22M-70-22860

PIN

7

20T-70-71452

PIN

8

07020-00000

FITTING

9

20T-70-71270

PLATE

10

01010-82045

BOLT

11

01643-32060

WASHER

12

20U-70-21780

SHIM, 2.5MM

13

20T-70-81710

SPACER, 1.0MM

Выбрано товаров: 0