Запчасти Komatsu PC40MR-2 ПОКРЫТИЕ ПОЛА (ДЛЯ НАВЕСА) КАБИНА ОПЕРАТОРА И СИСТЕМА УПРАВЛЕНИЯ

Схема запчастей Komatsu PC40MR-2 - ПОКРЫТИЕ ПОЛА (ДЛЯ НАВЕСА) КАБИНА ОПЕРАТОРА И СИСТЕМА УПРАВЛЕНИЯ
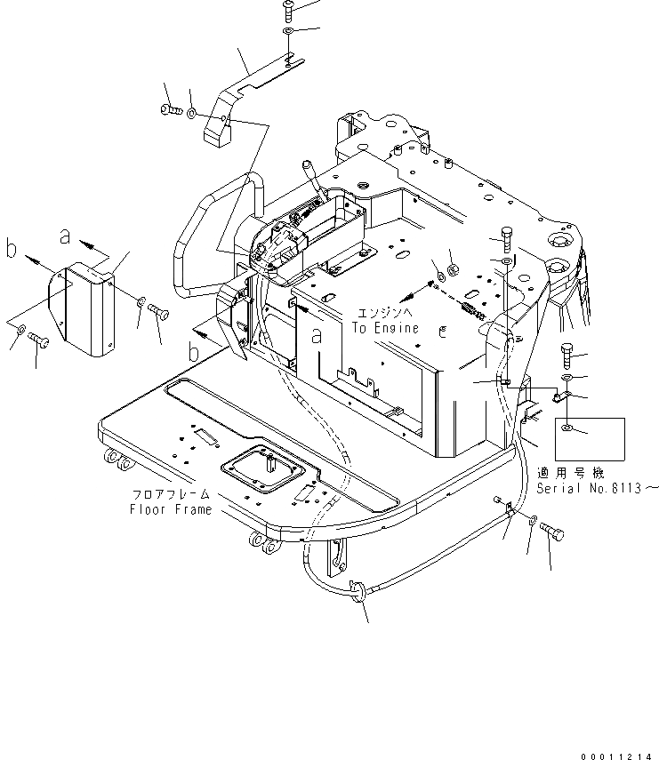
1
2
2
3
3
4
5
5
6
6
7
8
9
10
10
11
11
12
12
13
14
15
16
FIT
1:1
100%

Артикул

Название

Примечание

Количество

1

22M-43-21281

COVER

2

01245-00816

SCREW

3

01643-70823

WASHER

4

22M-43-21521

COVER

5

01245-01016

SCREW

6

01643-71032

WASHER

7

01580-10605

NUT

8

01643-30623

WASHER

9

08034-40521

BAND

10

04434-51510

CLIP

11

01010-80816

BOLT

12

01643-30823

WASHER

13

22M-54-26991

BRACKET

14

01010-81020

BOLT

15

01643-31032

WASHER

16

01643-30823

WASHER

Выбрано товаров: 16