Запчасти Komatsu PC40MR-2 СИДЕНЬЕ ОПЕРАТОРА (ЖЕСТК.)(№878-) КАБИНА ОПЕРАТОРА И СИСТЕМА УПРАВЛЕНИЯ

Схема запчастей Komatsu PC40MR-2 - СИДЕНЬЕ ОПЕРАТОРА (ЖЕСТК.)(№878-) КАБИНА ОПЕРАТОРА И СИСТЕМА УПРАВЛЕНИЯ
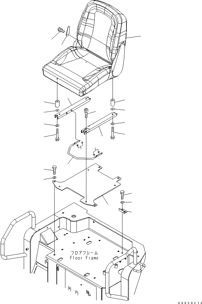
1
2
3
4
5
6
7
7
8
8
9
9
10
10
11
11
12
13
14
15
16
17
18
FIT
1:1
100%

Артикул

Название

Примечание

Количество

|$1

22M-57-21131

OPERATOR'S SEAT A.

1

22M-57-21150

SEAT ASS'Y

2

GRS57503030

KNOB

3

01023-10510

SCREW

4

22M-57-21160

LEVER

5

22M-57-21170

ADJUSTER,L.H.

6

22M-57-21180

ADJUSTER,R.H.

7

22M-57-21190

SEAT

8

22M-43-21410

NUT

9

22M-57-21440

SPACER

10

22M-57-21530

BOLT

11

22M-57-21430

WASHER

12

01252-70816

BOLT

13

22M-57-21282

PLATE

14

01010-D1020

BOLT

15

01643-71032

WASHER

16

22M-57-21212

STOPPER

17

01010-D1020

BOLT

18

01643-71032

WASHER

Выбрано товаров: 19