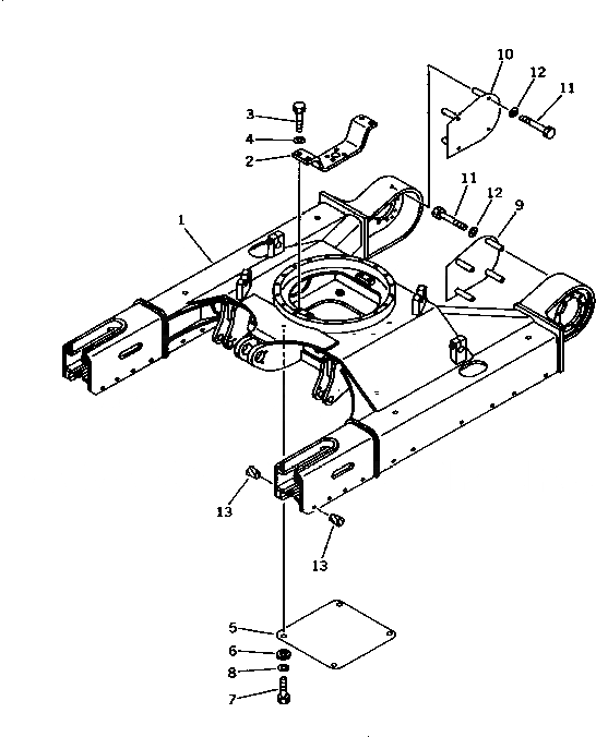
Запчасти Komatsu PC40R-7 ГУСЕНИЧНАЯ РАМА (ДЛЯ РЕЗИН. SHOE) ХОДОВАЯ

Схема запчастей Komatsu PC40R-7 - ГУСЕНИЧНАЯ РАМА (ДЛЯ РЕЗИН. SHOE) ХОДОВАЯ
FIT
1:1
100%

Артикул

Название

Примечание

Количество

1

20T-30-77112

FRAME,TRACK

|1

20T-30-77111

FRAME,TRACK

2

20T-30-71411

BRACKET

3

01010-51235

BOLT

4

01643-31232

WASHER

5

20T-30-71231

COVER

6

103-54-21160

COLLAR

7

01010-51030

BOLT

8

01643-31032

WASHER

9

20T-30-71211

COVER,L.H.

10

20T-30-71221

COVER,R.H.

11

01011-51020

BOLT

12

01643-31032

WASHER

13

07049-01620

PLUG

Выбрано товаров: 14