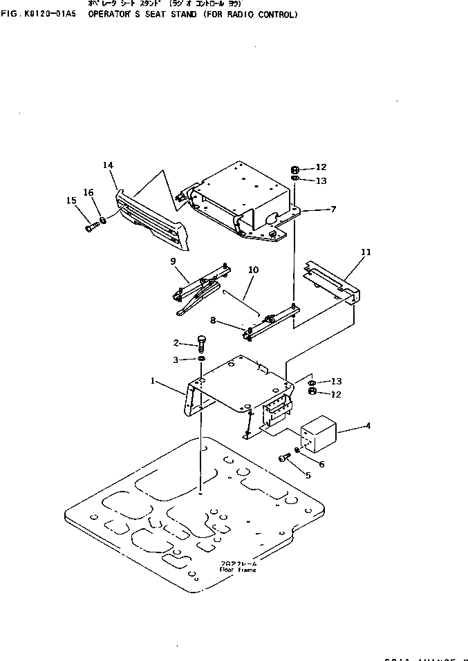
Запчасти Komatsu PC40R-7 ОСНОВАНИЕ КРЕСЛА (ДЛЯ РАДИО УПРАВЛ-Е) КАБИНА ОПЕРАТОРА И СИСТЕМА УПРАВЛЕНИЯ

Схема запчастей Komatsu PC40R-7 - ОСНОВАНИЕ КРЕСЛА (ДЛЯ РАДИО УПРАВЛ-Е) КАБИНА ОПЕРАТОРА И СИСТЕМА УПРАВЛЕНИЯ
FIT
1:1
100%

Артикул

Название

Примечание

Количество

1

20T-54-78270

BRACKET

|1

20T-54-77980

BRACKET

2

01010-51020

BOLT

3

01643-31032

WASHER

4

20T-54-77990

COVER

5

01220-70820

SCREW

6

01643-30823

WASHER

7

20T-54-71411

BRACKET

8

205-57-63520

ADJUSTER

9

205-57-63530

ADJUSTER

10

20T-54-71490

BAR

11

20T-54-78260

BRACKET

|11

20T-54-78110

BRACKET

12

01580-11210

NUT

13

01643-31232

WASHER

14

20T-54-71191

COVER

15

01220-70820

SCREW

16

01643-80823

WASHER

Выбрано товаров: 18