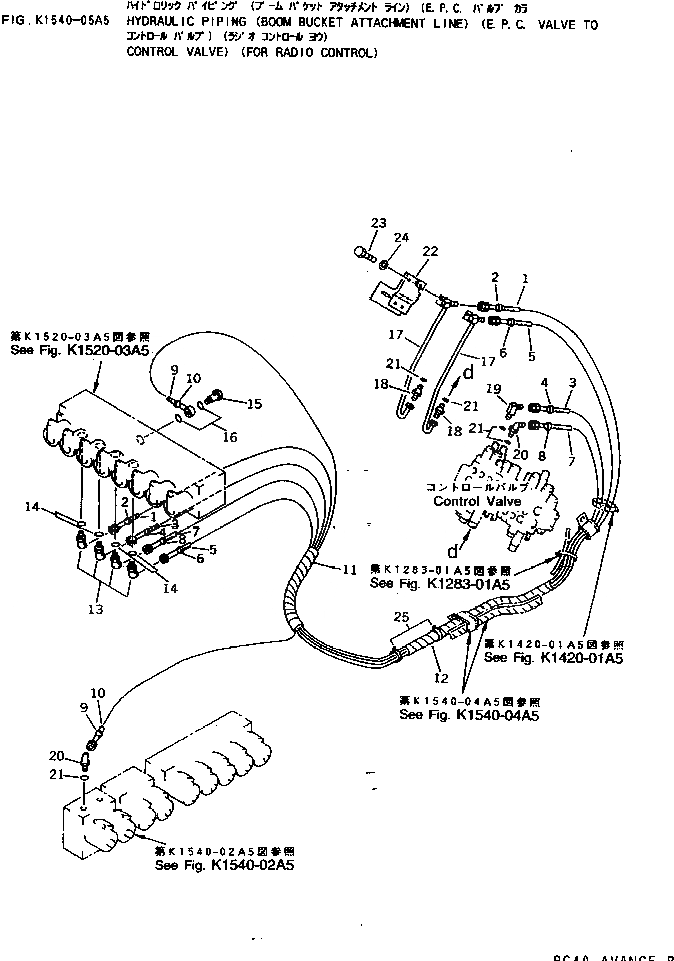
Запчасти Komatsu PC40R-7 ГИДРОЛИНИЯ (СТРЕЛА КОВШ НАВЕСНОЕ ОБОРУД-Е) (E.P.C. КЛАПАН - УПРАВЛЯЮЩ. КЛАПАН) (ДЛЯ РАДИО УПРАВЛ-Е) КАБИНА ОПЕРАТОРА И СИСТЕМА УПРАВЛЕНИЯ

Схема запчастей Komatsu PC40R-7 - ГИДРОЛИНИЯ (СТРЕЛА КОВШ НАВЕСНОЕ ОБОРУД-Е) (E.P.C. КЛАПАН - УПРАВЛЯЮЩ. КЛАПАН) (ДЛЯ РАДИО УПРАВЛ-Е) КАБИНА ОПЕРАТОРА И СИСТЕМА УПРАВЛЕНИЯ
FIT
1:1
100%

Артикул

Название

Примечание

Количество

1

20T-62-77821

HOSE¤ 2220MM

2

20T-62-71710

MARK¤ 1

3

20T-62-77831

HOSE

4

20T-62-71720

MARK¤ 2

5

20T-62-77831

HOSE

6

20T-62-71730

MARK¤ 3

7

20T-62-77841

HOSE

8

20T-62-71740

MARK¤ 4

9

20T-62-77761

HOSE

10

203-62-58160

MARK¤ P1

11

20T-62-78280

COVER

12

203-62-58650

COVER

13

07235-10210

ELBOW

14

07002-01423

O-RING

15

702-16-53240

PLUG,(WITH FILTER)

16

07000-02018

O-RING

17

20T-62-77151

TUBE

18

07230-20210

UNION

19

208-62-18190

ELBOW

20

07235-10210

ELBOW

21

07002-01423

O-RING

22

20T-62-71211

PLATE

23

01010-51020

BOLT

24

01643-31032

WASHER

25

08034-00823

BAND

Выбрано товаров: 25