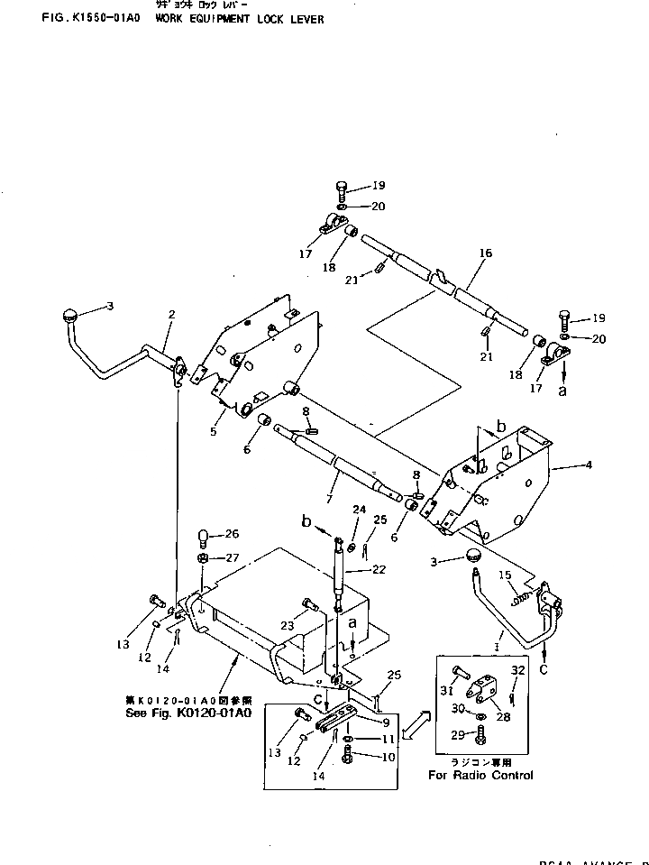
Запчасти Komatsu PC40R-7 РЫЧАГ БЛОКИРОВКИ РАБОЧ. ОБОРУД. КАБИНА ОПЕРАТОРА И СИСТЕМА УПРАВЛЕНИЯ

Схема запчастей Komatsu PC40R-7 - РЫЧАГ БЛОКИРОВКИ РАБОЧ. ОБОРУД. КАБИНА ОПЕРАТОРА И СИСТЕМА УПРАВЛЕНИЯ
FIT
1:1
100%

Артикул

Название

Примечание

Количество

1

20T-43-71211

LEVER,L.H.

2

20T-43-71221

LEVER,R.H.

3

09304-10835

KNOB

4

20T-54-71421

BRACKET,L.H.

5

20T-54-71431

BRACKET,R.H.

6

195-61-34130

BEARING

7

20T-43-71242

SHAFT

|7

20T-43-71241

SHAFT

8

20T-43-71280

PIN

|8

04025-00632

PIN,SPRING

9

20T-43-71251

STOPPER

10

01010-51040

BOLT

11

01643-31032

WASHER

12

20T-43-71271

COLLAR

13

04205-10835

PIN

14

04050-12015

PIN,COTTER

15

20Y-54-13550

SPRING

16

20T-54-71452

SHAFT

|16

20T-54-71451

SHAFT

17

20T-54-71440

BRACKET

18

195-61-34130

BEARING

19

01010-51035

BOLT

20

01643-31032

WASHER

21

20T-43-71280

PIN

|21

04025-00632

PIN,SPRING

22

20T-54-71460

SPRING

23

04205-10820

PIN

24

01643-30823

WASHER

25

04050-12015

PIN,COTTER

26

21K-54-11310

STOPPER

27

01580-11210

NUT

28

20T-43-77910

BRACKET,(FOR RADIO CONTROL)

29

01010-51045

BOLT,(FOR RADIO CONTROL)

30

01643-31032

WASHER,(FOR RADIO CONTROL)

31

04205-31250

PIN,(FOR RADIO CONTROL)

32

04052-11253

PIN,COTTER (FOR RADIO CONTROL)

Выбрано товаров: 0