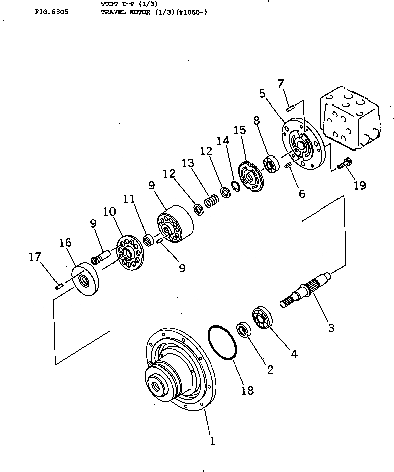
Запчасти Komatsu PC40T-7 МОТОР ХОДА (/) (ДЛЯ SUPER LINER) (PCT)(№9-) НИЖНЯЯ ГИДРОЛИНИЯ И ЛИНИЯ ХОДА

Схема запчастей Komatsu PC40T-7 - МОТОР ХОДА (/) (ДЛЯ SUPER LINER) (PCT)(№9-) НИЖНЯЯ ГИДРОЛИНИЯ И ЛИНИЯ ХОДА
FIT
1:1
100%

Артикул

Название

Примечание

Количество

|1

20T-60-43100

TRAVEL MOTOR ASS'Y

1

FUMHB3-2-2096B

BODY SUB ASS'Y

|1

FUMHB-3-2-2096

BODY SUB ASS'Y

2

FUSCJY-254010

SEAL,OIL

3

FUMHSH-3-2197

SHAFT SUB ASS'Y

4

06000-06305

BEARING,BALL

5

FUMHB3-1-2096B

BODY SUB ASS'Y

|5

FUMHB-3-1-2096

BODY SUB ASS'Y

6

FUPPS-W-6-16

PIN,SPRING

7

FUPP-H7-8-15

PIN

8

06000-06302

BEARING,BALL

9

FUMHCB-3-2000

CYLINDER SUB ASS'Y,BARREL

10

FUFZS-2000-08

HOLDER,SHOE

11

FUPS67-102000

HOLDER,BARREL

12

RETAINER

13

SPRING

14

04065-03515

RING,SNAP

15

FUFZS-2096-05

VALVE,PLATE

16

FUMHSW-31-2000

PLATE

|16

FUFZS-20001031

PLATE

17

FUPP-M6-8-15

PIN

18

FUG125-90

O-RING

19

FUTH12-10-25

SCREW

Выбрано товаров: 0