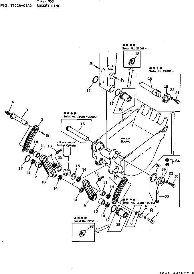
Запчасти Komatsu PC40T-7 СОЕДИНЕНИЕ КОВША РАБОЧЕЕ ОБОРУДОВАНИЕ

Схема запчастей Komatsu PC40T-7 - СОЕДИНЕНИЕ КОВША РАБОЧЕЕ ОБОРУДОВАНИЕ
FIT
1:1
100%

Артикул

Название

Примечание

Количество

1

20T-70-71421

LINK,L.H.

2

20T-70-71431

LINK,R.H.

3

20T-70-71451

PIN

|3

20T-70-71450

PIN

4

07020-00000

FITTING,GREASE

5

20T-70-71270

PLATE

6

281-22-12440

SHIM¤ 1.0MM

7

01010-52045

BOLT

8

01643-32060

WASHER

|9

20T-70-01041

LINK ASS'Y

|9

20T-70-01040

LINK ASS'Y,L.H.

|9

20T-70-01060

LINK ASS'Y,R.H.

9

LINK

|9

LINK,L.H.

10

LINK,R.H.

11

20T-70-25740

BUSHING

12

20T-70-71870

BUSHING

13

07020-00675

FITTING,GREASE

14

07145-00045

SEAL,DUST

15

20U-70-21780

SHIM¤ 2.5MM

|15

20T-70-71490

SHIM¤ 2.5MM

16

20T-70-71442

PIN

|16

20T-70-71441

PIN

17

20T-70-71611

O-RING

18

20T-70-71461

SPACER

|18

20T-70-71460

SPACER

19

20T-70-71471

RETAINER

|19

20T-70-71470

PLATE

20

20T-70-71480

SHIM¤ 1.0MM

21

01010-51035

BOLT

|21

01010-51040

BOLT

22

01643-31032

WASHER

23

20T-70-71730

BOLT

24

01580-11210

NUT

Выбрано товаров: 34