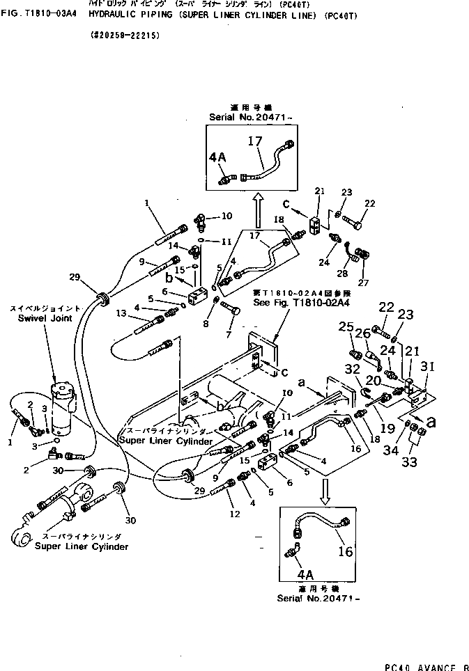
Запчасти Komatsu PC40T-7 ГИДРОЛИНИЯ (SUPER LINER ЛИНИЯ ЦИЛИНДРА) (PCT)(№9-) РАБОЧЕЕ ОБОРУДОВАНИЕ

Схема запчастей Komatsu PC40T-7 - ГИДРОЛИНИЯ (SUPER LINER ЛИНИЯ ЦИЛИНДРА) (PCT)(№9-) РАБОЧЕЕ ОБОРУДОВАНИЕ
FIT
1:1
100%

Артикул

Название

Примечание

Количество

1

07109-20314

HOSE

2

20R-62-21121

ELBOW

3

07002-11823

O-RING

4

07230-20315

UNION

|4

07230-20315

UNION

4A

07236-50315

ELBOW

5

07002-12034

O-RING

6

20T-914-7520

BLOCK

7

01010-51055

BOLT

|7

01010-51060

BOLT

8

01643-31032

WASHER

9

07109-20321

HOSE

10

20T-914-4610

ELBOW

|10

20R-62-11311

ELBOW

11

07002-12034

O-RING

12

07109-20309

HOSE

13

07109-20305

HOSE

14

20T-914-4620

ELBOW

|14

07235-10315

ELBOW

15

07002-12034

O-RING

16

07086-20304

HOSE

|16

20T-914-7530

TUBE

17

07086-20305

HOSE

|17

20T-914-7540

TUBE

18

22W-44-15120

NIPPLE

|18

176-62-15490

NIPPLE

19

20T-914-7560

VALVE,STOP

20

07325-10200

NIPPLE

21

20T-914-7580

BLOCK

22

01010-51050

BOLT

23

01643-31032

WASHER

24

07325-10200

NIPPLE

25

201-62-27760

COUPLING

26

20T-914-4550

PLUG

27

201-62-27750

COUPLING

28

20T-914-4540

PLUG

29

08037-03620

GROMMET

30

08037-05022

GROMMET

31

20T-914-7640

BRACKET

32

195-01-13260

CLIP,PIPE

33

01582-10605

NUT

34

01643-30623

WASHER

Выбрано товаров: 42