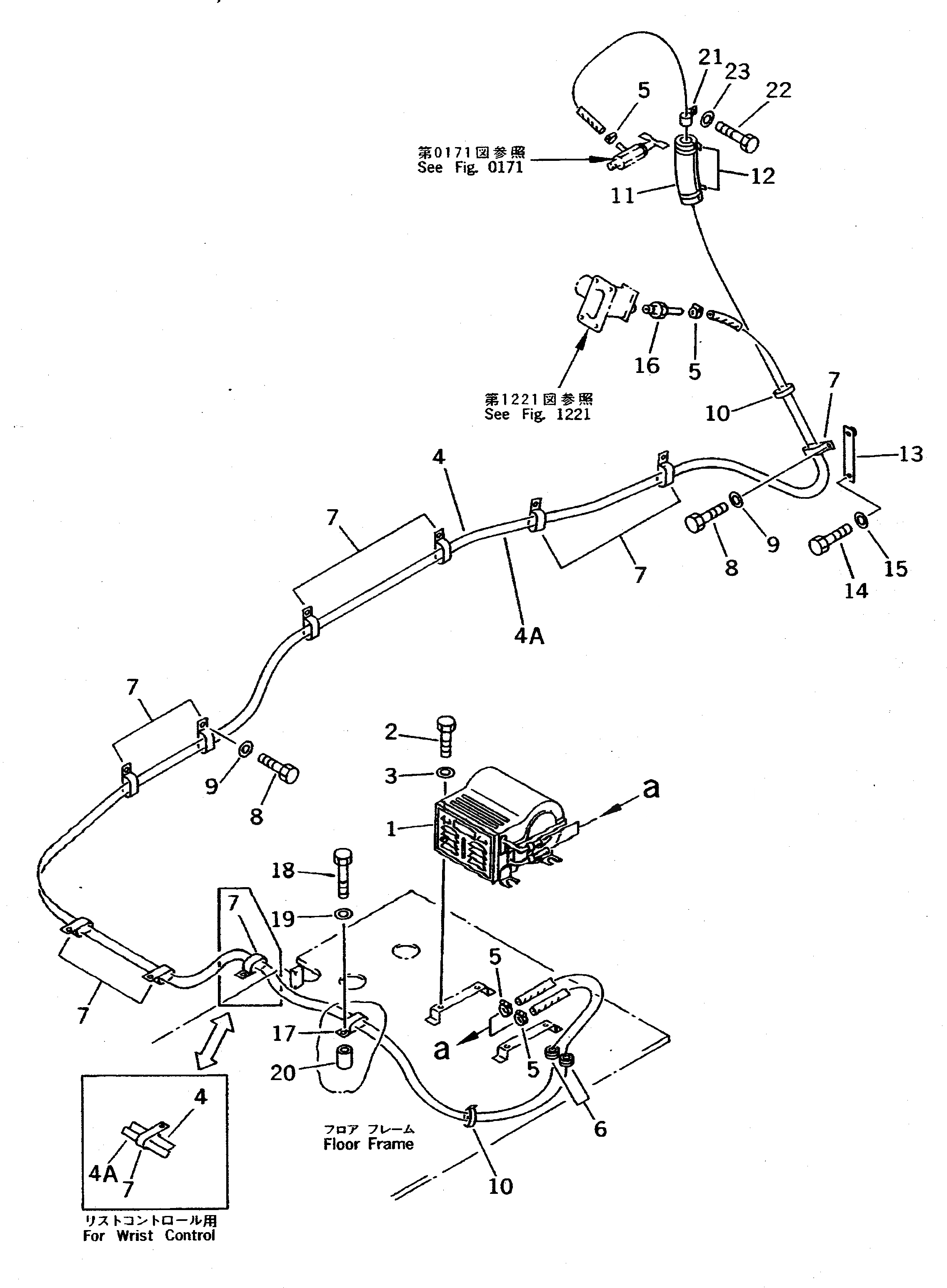
Запчасти Komatsu PC410-5 ОБОГРЕВАТЕЛЬ. И ТРУБЫ(№-) ЧАСТИ КОРПУСА

Схема запчастей Komatsu PC410-5 - ОБОГРЕВАТЕЛЬ. И ТРУБЫ(№-) ЧАСТИ КОРПУСА
FIT
1:1
100%

Артикул

Название

Примечание

Количество

G-1

208-977-X110

CAR HEATER GROUP

1

205-977-7110

HEATER UNIT

2

01010-51020

BOLT

3

01643-31032

WASHER

4

09483-00468

HOSE

4A

09483-00458

HOSE

5

09480-10100

CLAMP

6

20Y-977-1130

GROMMET

7

141-06-11220

CLIP

8

01010-51225

BOLT

9

01643-31232

WASHER

10

08034-00519

BAND

11

205-62-53780

COVER

12

08034-00823

BAND

13

207-977-5120

BRACKET

14

01010-51225

BOLT

15

01643-31232

WASHER

16

20T-03-11280

NIPPLE

17

141-06-11220

CLIP

18

01010-51265

BOLT

19

01643-31232

WASHER

20

205-03-71331

COLLAR

21

209-04-19140

CLIP

22

01010-51225

BOLT

23

01643-31232

WASHER

Выбрано товаров: 0