Запчасти Komatsu PC410-5 КОМПОНЕНТЫ КОМПРЕССОРА (КОНДИЦ. ВОЗДУХА)(№-8) ЧАСТИ КОРПУСА

Схема запчастей Komatsu PC410-5 - КОМПОНЕНТЫ КОМПРЕССОРА (КОНДИЦ. ВОЗДУХА)(№-8) ЧАСТИ КОРПУСА
FIT
1:1
100%

Артикул

Название

Примечание

Количество

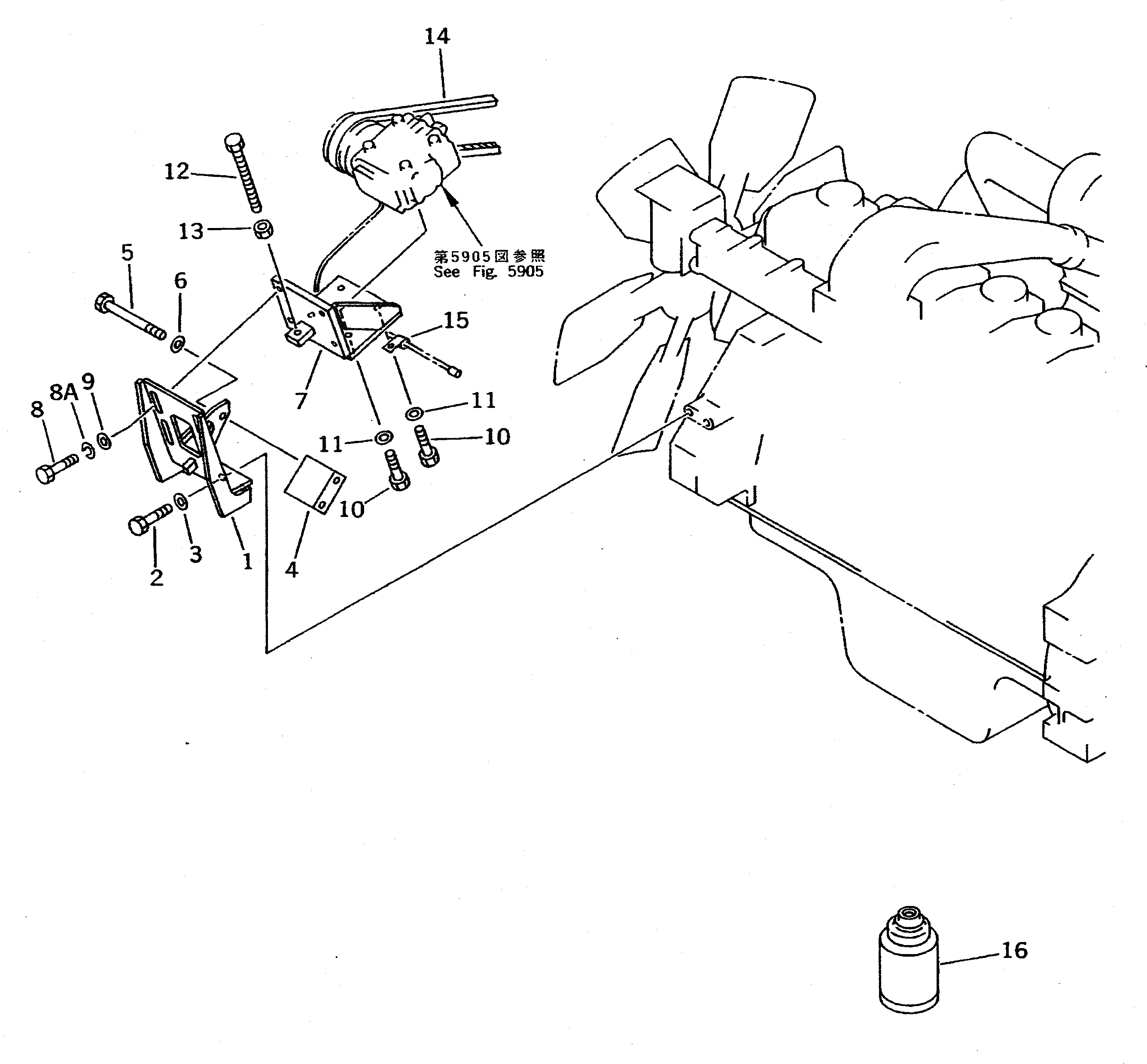
G-1

208-979-X110

AIR CONDITIONER G.

1

208-979-5210

BRACKET

|1

207-978-3112

BRACKET

2

01010-51030

BOLT

3

01643-31032

WASHER

4

207-978-3131

SPACER

5

01011-51070

BOLT

6

01643-31032

WASHER

7

208-979-5120

BRACKET

8

01010-51030

BOLT

8A

01602-21030

WASHER,SPRING

9

01643-31032

WASHER

10

01010-50825

BOLT

11

01643-30823

WASHER

12

130-Z79-1740

BOLT

13

01580-11008

NUT

14

04120-21756

V-BELT

|14

04120-21754

V-BELT

15

08036-10810

CLIP

16

202-981-1370

DRUM

Выбрано товаров: 20