Запчасти Komatsu PC410-5 ГИДР. БАК. (С ПАТРУБКИ САПУНА) УПРАВЛ-Е РАБОЧИМ ОБОРУДОВАНИЕМ

Схема запчастей Komatsu PC410-5 - ГИДР. БАК. (С ПАТРУБКИ САПУНА) УПРАВЛ-Е РАБОЧИМ ОБОРУДОВАНИЕМ
FIT
1:1
100%

Артикул

Название

Примечание

Количество

|1

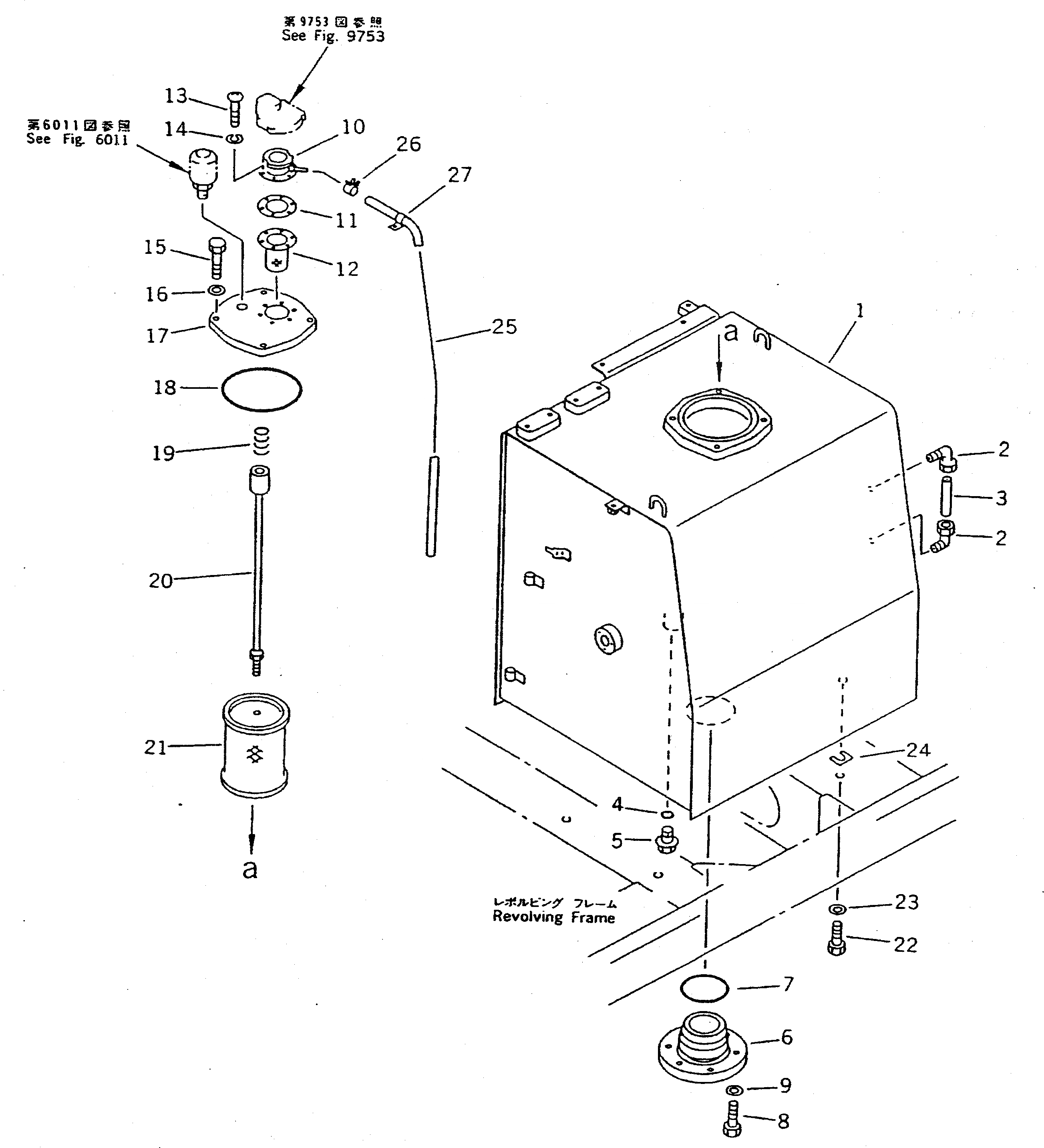
208-60-00100

HYDRAULIC TANK ASS'Y

1

TANK,HYDRAULIC

2

203-60-31100

ELBOW ASS'Y

3

203-60-31160

TUBE

4

07002-02434

O-RING

5

07044-12412

PLUG

6

207-62-52291

FLANGE

7

07000-02125

O-RING

8

01010-51245

BOLT

9

01643-31232

WASHER

10

201-60-12171

FILLER

11

205-60-66211

GASKET

|11

205-60-51460

GASKET

12

205-60-51480

SCREEN

13

01220-40516

SCREW

14

01601-20513

WASHER,SPRING

15

01010-51035

BOLT

16

01643-31032

WASHER

17

207-60-31120

COVER

18

07000-05180

O-RING

19

12R-60-11230

SPRING

20

207-60-51161

SUPPORT

21

207-60-51200

STRAINER

22

01010-51635

BOLT

23

01643-31645

WASHER

24

195-03-11570

SHIM¤ 1.0MM

25

207-60-11350

TUBE

26

07285-00095

CLIP

27

08036-01214

CLIP

Выбрано товаров: 29