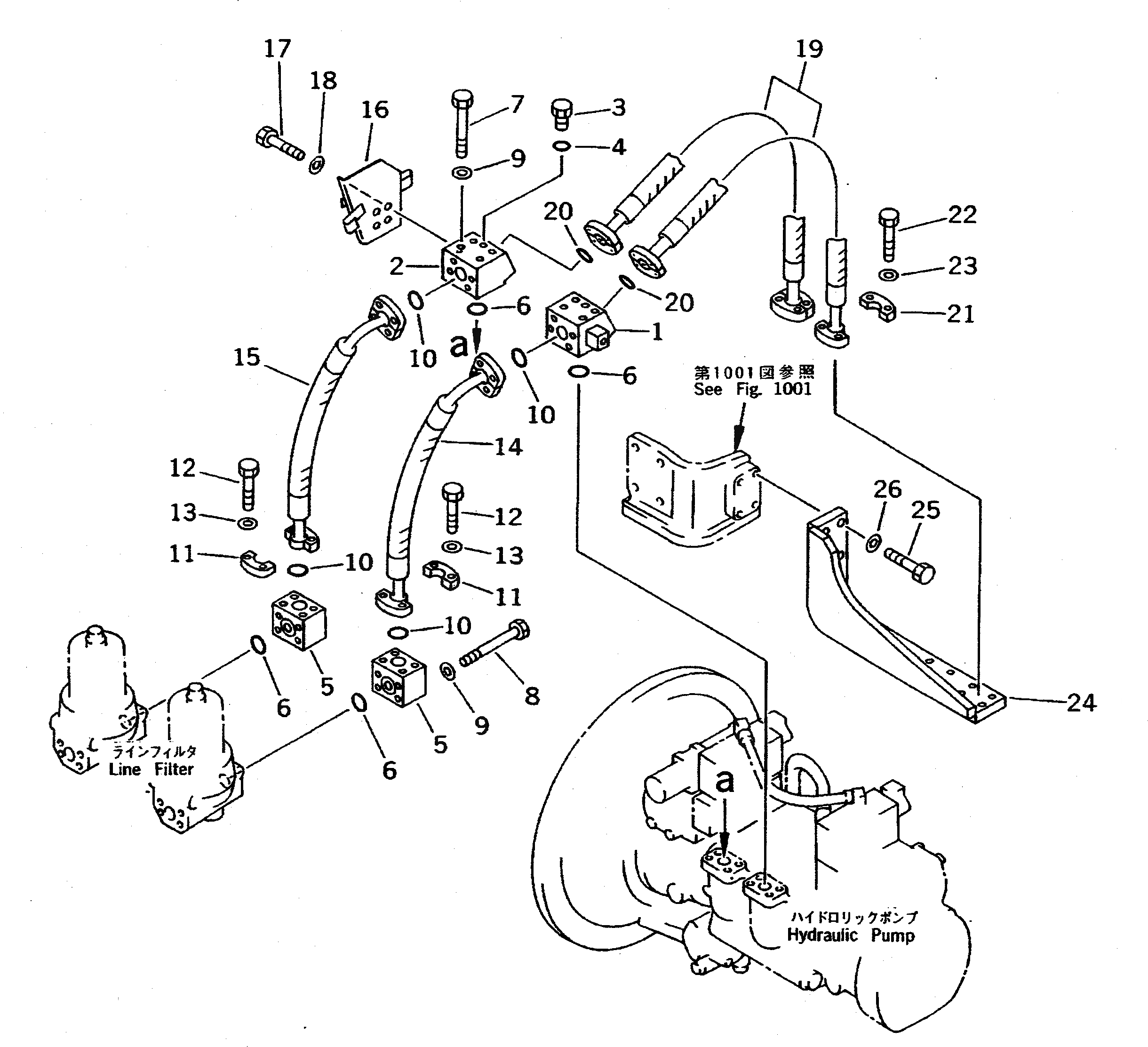
Запчасти Komatsu PC410-5 НАСОС - ФИЛЬТР ТРУБЫ УПРАВЛ-Е РАБОЧИМ ОБОРУДОВАНИЕМ

Схема запчастей Komatsu PC410-5 - НАСОС - ФИЛЬТР ТРУБЫ УПРАВЛ-Е РАБОЧИМ ОБОРУДОВАНИЕМ
FIT
1:1
100%

Артикул

Название

Примечание

Количество

1

207-62-51870

BLOCK

2

207-62-52680

BLOCK

3

07040-11007

PLUG

4

07002-11023

O-RING

5

207-62-51880

BLOCK

6

21T-09-11470

O-RING

7

01010-51085

BOLT

8

01010-51070

BOLT

9

01643-31032

WASHER

10

21T-09-11460

O-RING

11

07371-31049

FLANGE,SPLIT

12

07372-21035

BOLT

13

01643-51032

WASHER

14

208-62-51580

HOSE

|14

207-62-51911

HOSE

15

207-62-51921

HOSE

16

207-62-52690

PLATE

17

01010-51020

BOLT

18

01643-31032

WASHER

19

207-62-52650

HOSE

20

21T-09-11460

O-RING

21

07371-31049

FLANGE,SPLIT

22

07372-21035

BOLT

23

01643-51032

WASHER

24

207-62-51373

BRACKET

25

01010-51240

BOLT

26

01643-31232

WASHER

Выбрано товаров: 27