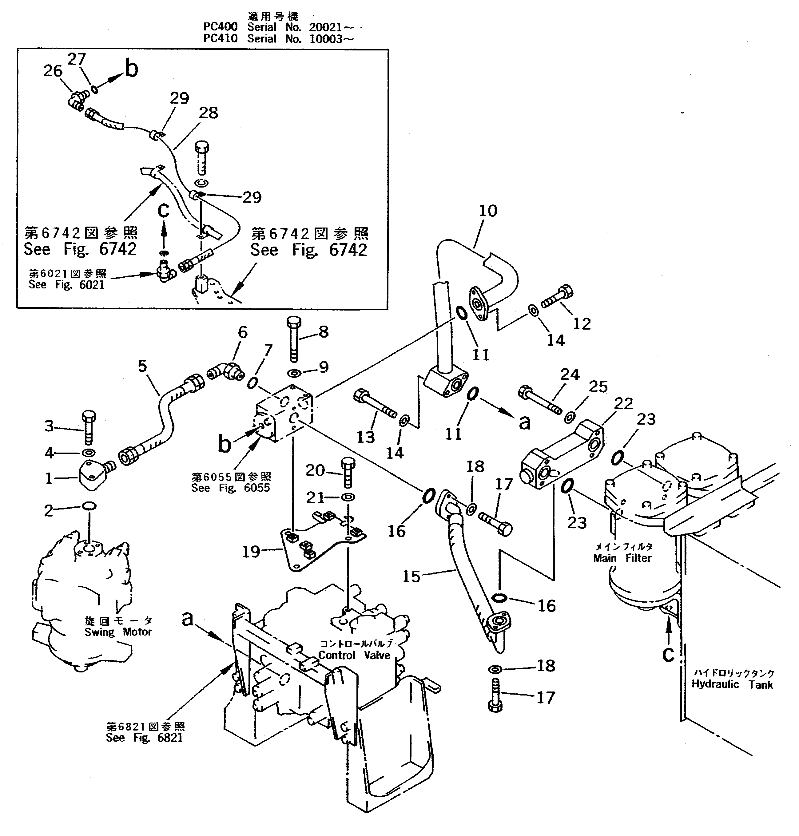
Запчасти Komatsu PC410-5 ВОЗВРАТ. ТРУБЫ УПРАВЛ-Е РАБОЧИМ ОБОРУДОВАНИЕМ

Схема запчастей Komatsu PC410-5 - ВОЗВРАТ. ТРУБЫ УПРАВЛ-Е РАБОЧИМ ОБОРУДОВАНИЕМ
FIT
1:1
100%

Артикул

Название

Примечание

Количество

1

207-62-52221

ELBOW

2

07000-03045

O-RING

3

01010-51250

BOLT

4

01643-31232

WASHER

5

07102-21006

HOSE

6

07235-11034

ELBOW

7

07002-03334

O-RING

8

01011-51225

BOLT

9

01643-31232

WASHER

10

207-62-52180

TUBE

11

07000-03045

O-RING

12

01010-51235

BOLT

13

01011-51220

BOLT

14

01643-31232

WASHER

15

208-62-51361

HOSE

16

07000-13048

O-RING

17

01010-51240

BOLT

18

01643-31232

WASHER

19

207-62-52272

BRACKET

20

01010-51225

BOLT

21

01643-31232

WASHER

22

208-62-54720

BLOCK

23

07000-03045

O-RING

24

01010-51280

BOLT

25

01643-31232

WASHER

26

07235-10315

ELBOW

27

07002-02034

O-RING

28

07102-20311

HOSE

29

08036-01814

CLIP

Выбрано товаров: 0