/ / / / / / ПРАВ. СТОЙКА И РЫЧАГ (ЗАДН.) (ДЛЯ WRIST УПРАВЛ-Е)(№-)
Запчасти Komatsu PC410-5 ПРАВ. СТОЙКА И РЫЧАГ (ЗАДН.) (ДЛЯ WRIST УПРАВЛ-Е)(№-) СИСТЕМА УПРАВЛЕНИЯ И ОСНОВНАЯ РАМА
G-1
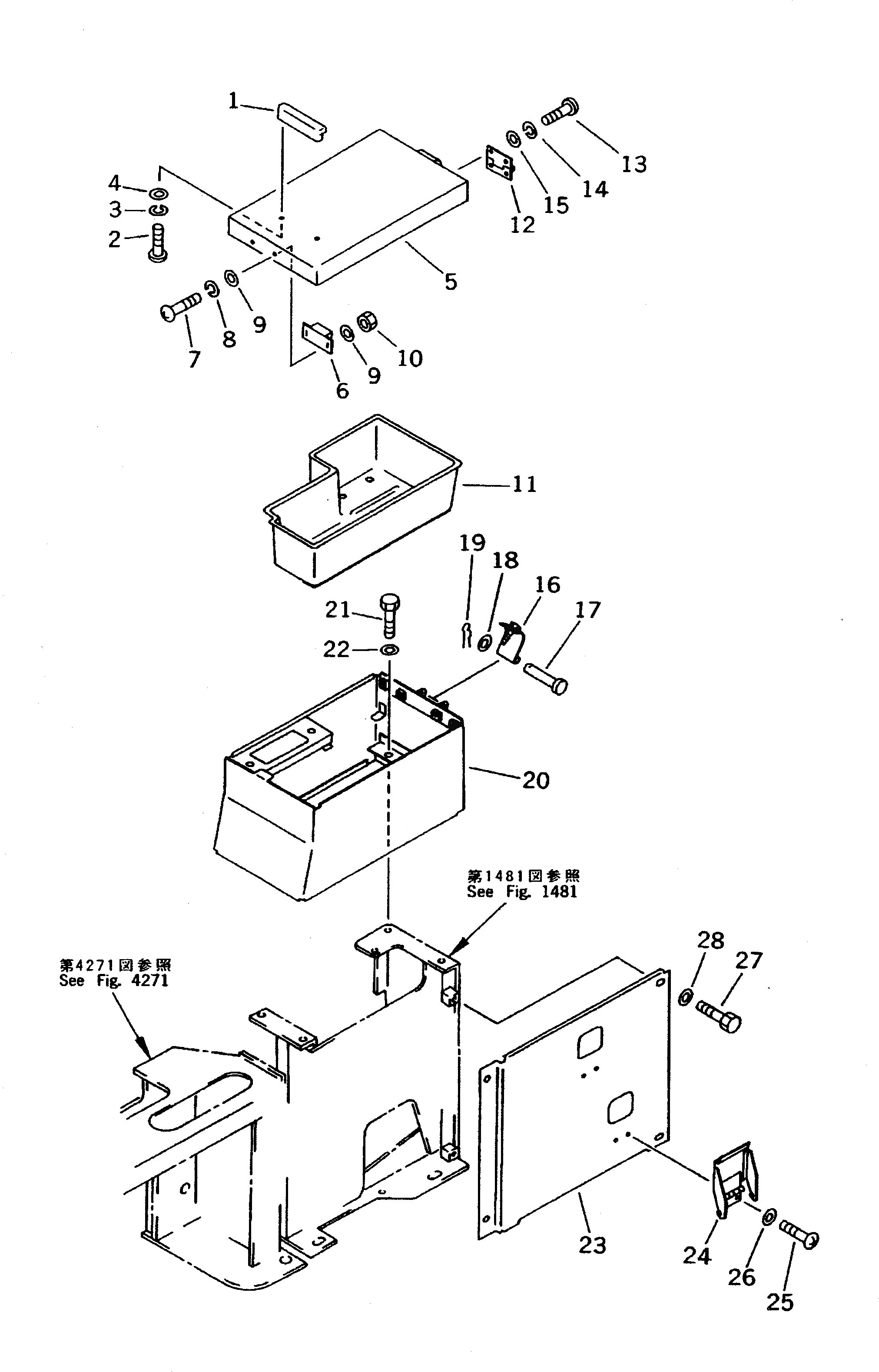
207-43-X3000
CONTROL GROUP
1
20Y-06-16330
HANDLE
2
01220-40510
SCREW
3
01601-20513
WASHER,SPRING
4
01641-20508
WASHER
5
20Y-06-16321
COVER
6
09452-14503
CATCHER
7
01220-40310
SCREW
8
01601-20307
WASHER,SPRING
9
01641-20508
WASHER
10
01580-10302
NUT
11
20Y-06-16341
TRAY
12
20Y-06-16350
HINGE
13
01220-40510
SCREW
14
01601-20513
WASHER,SPRING
15
01641-20508
WASHER
16
20Y-06-16580
SPRING
17
234-820-1210
PIN
18
01641-20812
WASHER
19
04052-10530
PIN,SNAP
20
20Y-06-16311
BOX
21
01010-50820
BOLT
22
01643-30823
WASHER
23
208-43-53110
COVER
24
20Y-43-16250
COVER
25
01220-40408
SCREW
26
01641-20405
WASHER
27
01010-50820
BOLT
28
01643-30823
WASHER
Выбрано товаров: 0