Запчасти Komatsu PC410-5 КАПОТ ЧАСТИ КОРПУСА

Схема запчастей Komatsu PC410-5 - КАПОТ ЧАСТИ КОРПУСА
FIT
1:1
100%

Артикул

Название

Примечание

Количество

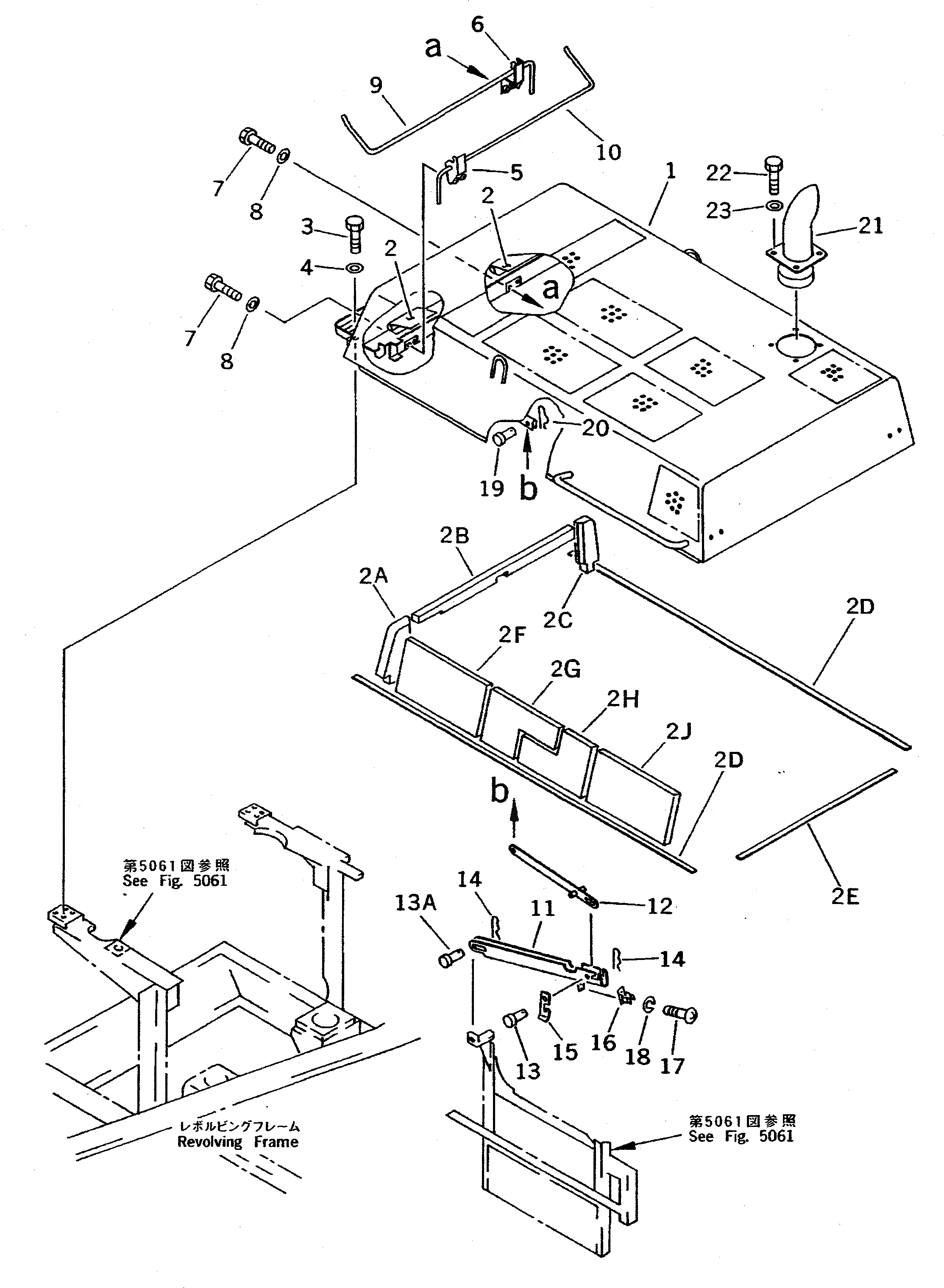
1

208-54-52512

HOOD

2

205-54-75362

HINGE

2A

208-54-52151

SHEET

2B

208-54-52531

SHEET

2C

208-54-52541

SHEET

2D

208-54-52550

SHEET

2E

208-54-52560

SHEET

2F

208-54-52610

SHEET

2G

208-54-52620

SHEET

2H

208-54-52630

SHEET

2J

208-54-52650

SHEET

3

01010-51230

BOLT

4

175-54-34170

WASHER

5

207-54-52251

BRACKET

6

207-54-52261

BRACKET

7

01010-51250

BOLT

8

01643-31230

WASHER

9

208-54-52580

SPRING

10

208-54-52590

SPRING

11

208-54-52120

STAY

12

208-54-52130

STAY

13

04205-31235

PIN

|13

04205-11235

PIN

13A

04205-31238

PIN

|13A

04205-11238

PIN

14

04052-01253

PIN,SNAP

15

207-54-52380

PLATE

16

20B-54-12210

SPRING

17

01220-40410

SCREW

18

01601-20410

WASHER,SPRING

19

04205-31230

PIN

|19

04205-11228

PIN

20

04052-01253

PIN,SNAP

21

207-01-32111

PIPE,TAIL

22

01010-51230

BOLT

23

124-54-26540

WASHER

Выбрано товаров: 36