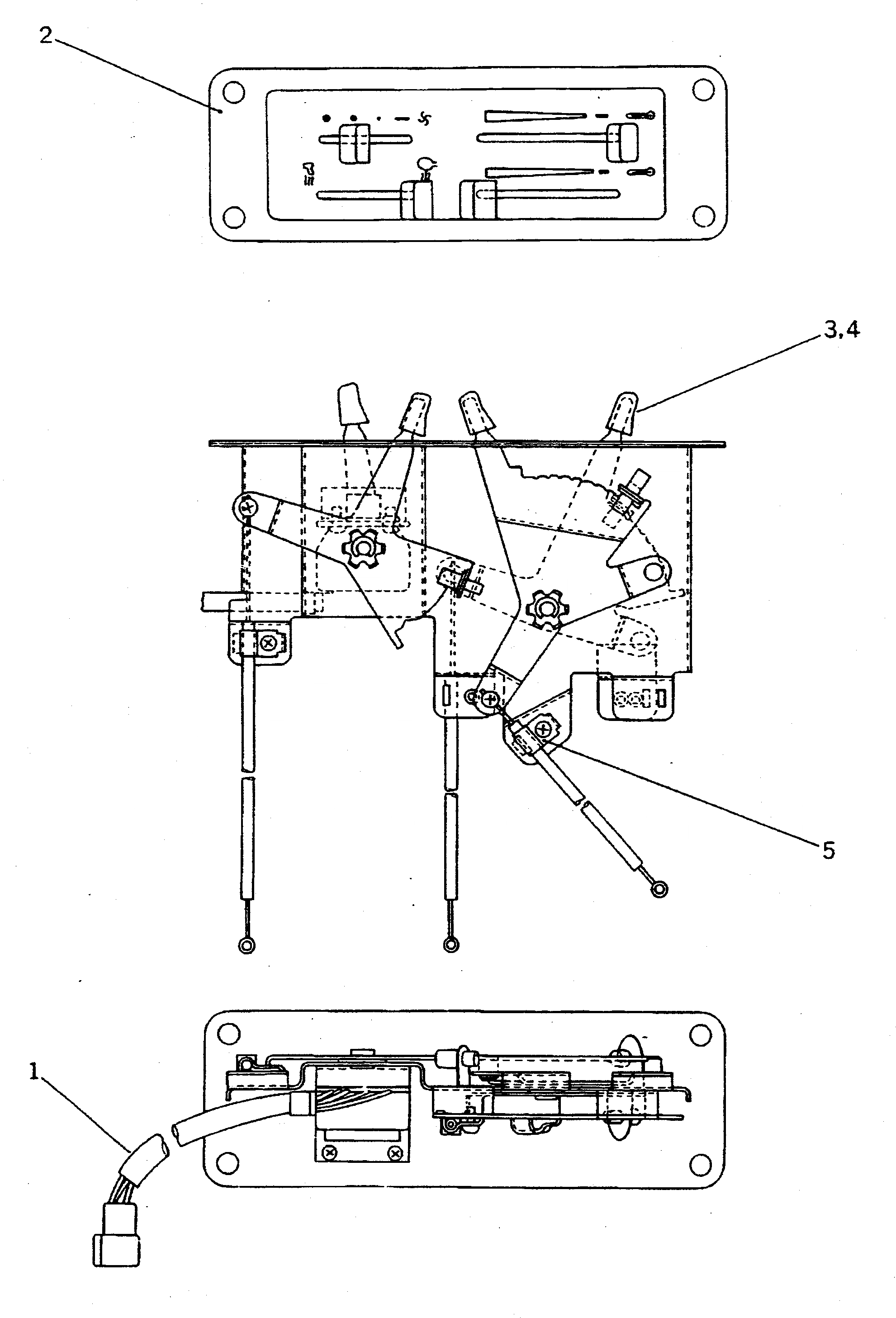
Запчасти Komatsu PC410-5 УПРАВЛ-Е БЛОК (КОНДИЦ. ВОЗДУХА)(№-8) ЧАСТИ КОРПУСА

Схема запчастей Komatsu PC410-5 - УПРАВЛ-Е БЛОК (КОНДИЦ. ВОЗДУХА)(№-8) ЧАСТИ КОРПУСА
FIT
1:1
100%

Артикул

Название

Примечание

Количество

G-1

208-979-X110

AIR CONDITIONER G.

|$2

205-979-6160

CONTROL ASS'Y

1

205-979-7700

SWITCH

2

205-979-7710

ORNAMENT

3

205-979-7720

KNOB

4

205-979-7730

CLIP

5

205-979-7740

CLAMP

Выбрано товаров: 7