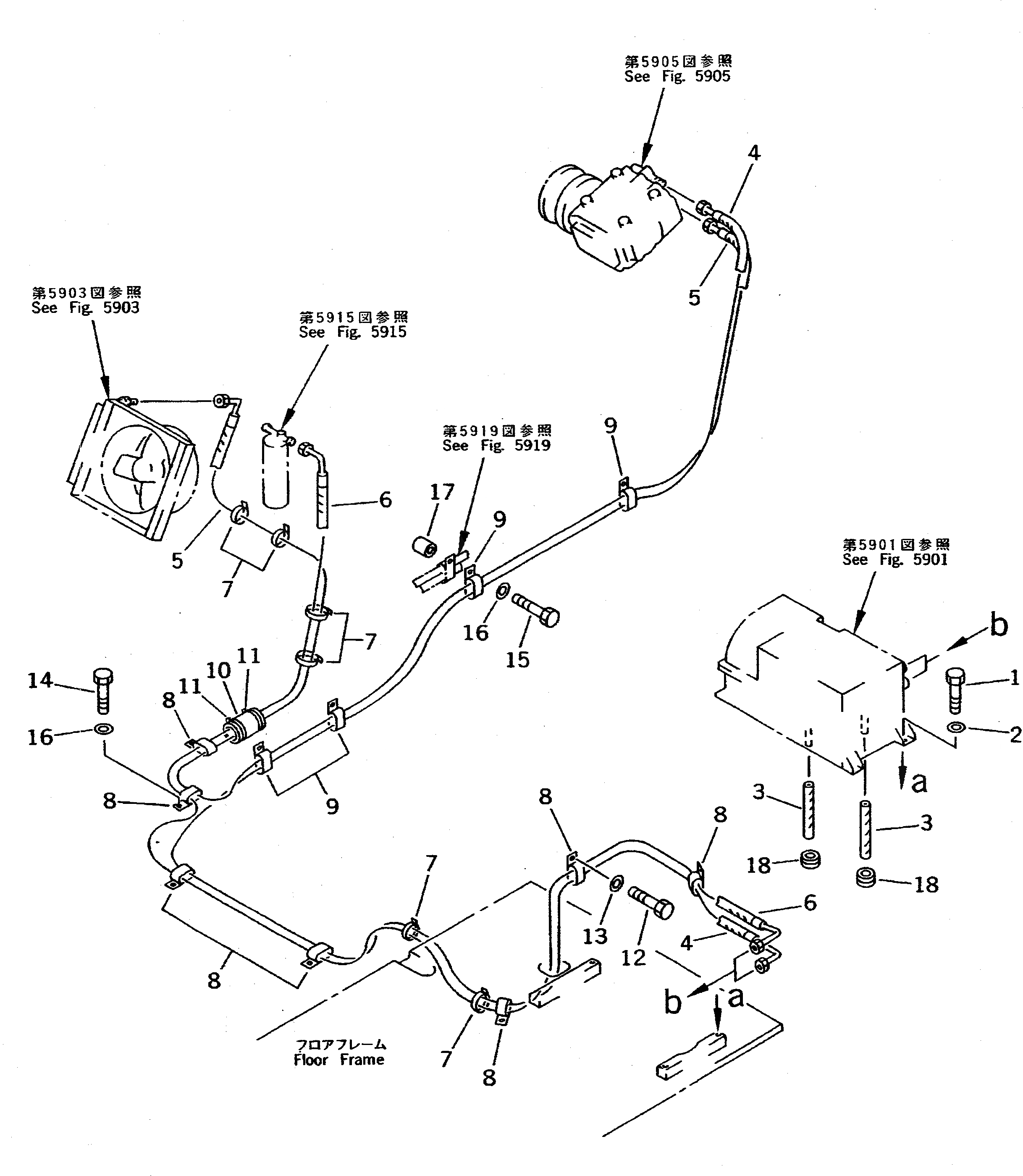
Запчасти Komatsu PC410-5 ТРУБКИ КОНДИЦИОНЕРА (ОХЛАЖД-Е)(№-8) ЧАСТИ КОРПУСА

Схема запчастей Komatsu PC410-5 - ТРУБКИ КОНДИЦИОНЕРА (ОХЛАЖД-Е)(№-8) ЧАСТИ КОРПУСА
FIT
1:1
100%

Артикул

Название

Примечание

Количество

G-1

208-979-X110

AIR CONDITIONER G.

1

01010-51225

BOLT

2

01643-31232

WASHER

3

205-979-6350

HOSE

4

09488-70754

HOSE

5

09488-70646

HOSE

6

207-979-5180

HOSE

7

08034-00519

BAND

8

176-911-4180

CLIP

9

145-01-42120

CLIP

10

205-62-55780

COVER

11

08034-00536

BAND

12

01010-51025

BOLT

13

01643-31032

WASHER

14

01010-51225

BOLT

15

01010-51255

BOLT

16

01643-31232

WASHER

17

11T-27-11180

SPACER

18

207-979-3180

GROMMET

Выбрано товаров: 0