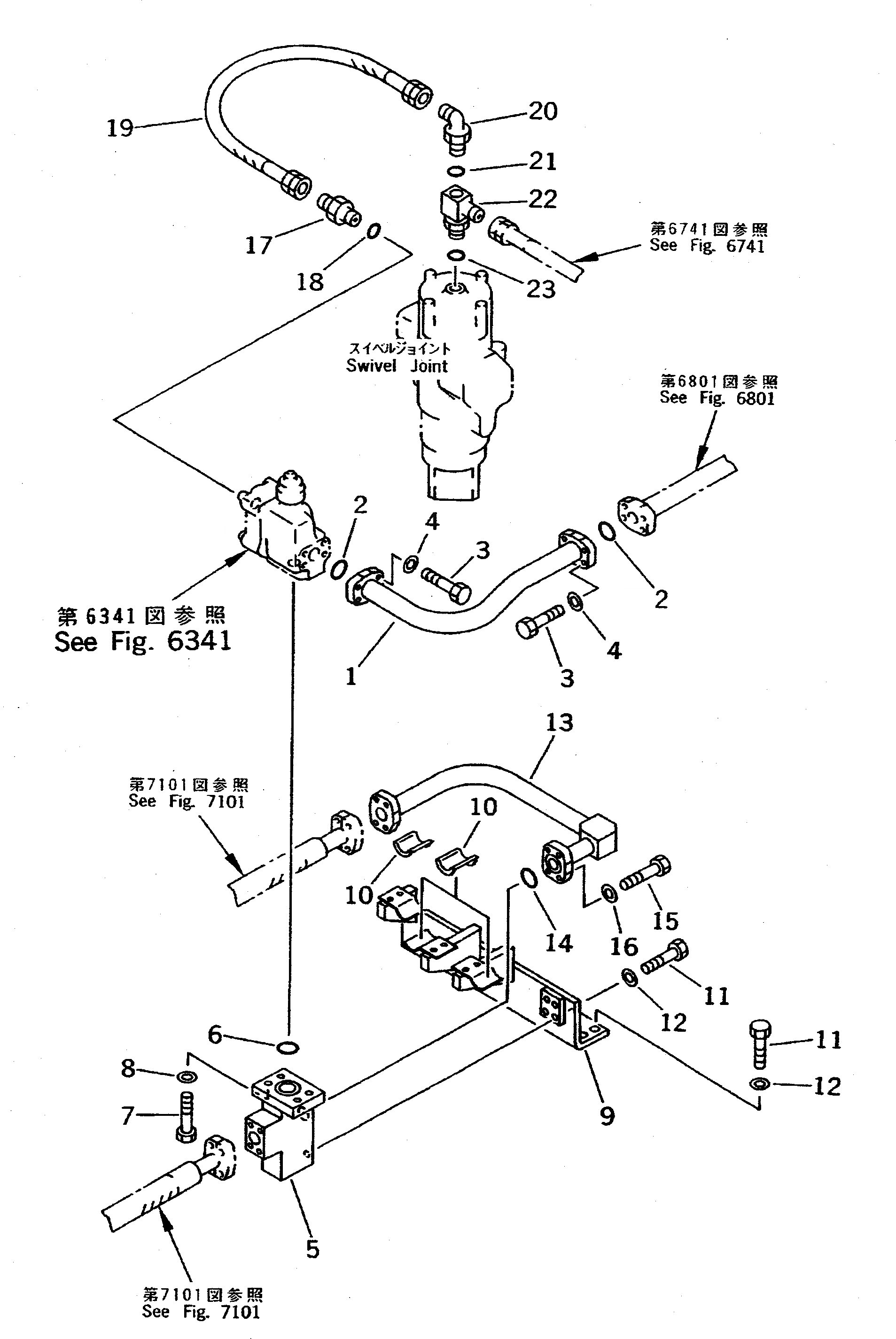
Запчасти Komatsu PC410-5 СТРЕЛА ПРЕДОТВРАЩЕНИЕ СМЕЩЕНИЮ ТРУБЫ(№-) УПРАВЛ-Е РАБОЧИМ ОБОРУДОВАНИЕМ

Схема запчастей Komatsu PC410-5 - СТРЕЛА ПРЕДОТВРАЩЕНИЕ СМЕЩЕНИЮ ТРУБЫ(№-) УПРАВЛ-Е РАБОЧИМ ОБОРУДОВАНИЕМ
FIT
1:1
100%

Артикул

Название

Примечание

Количество

G-1

208-62-X1210

PIPING GROUP

1

207-62-52161

TUBE

2

21T-09-11470

O-RING

3

07372-21040

BOLT

4

01643-51032

WASHER

5

207-62-52211

BLOCK

6

21T-09-11470

O-RING

7

07372-21040

BOLT

8

01643-51032

WASHER

9

207-62-52361

BRACKET

10

205-62-73430

SEAT

11

01010-51230

BOLT

12

01643-31232

WASHER

13

207-62-52171

TUBE

14

21T-09-11470

O-RING

15

07372-21040

BOLT

16

01643-51032

WASHER

17

07230-20522

UNION

18

07002-02434

O-RING

19

07102-20505

HOSE

20

07235-10522

ELBOW

21

07002-02434

O-RING

22

207-62-56270

ELBOW

23

07002-02434

O-RING

Выбрано товаров: 24