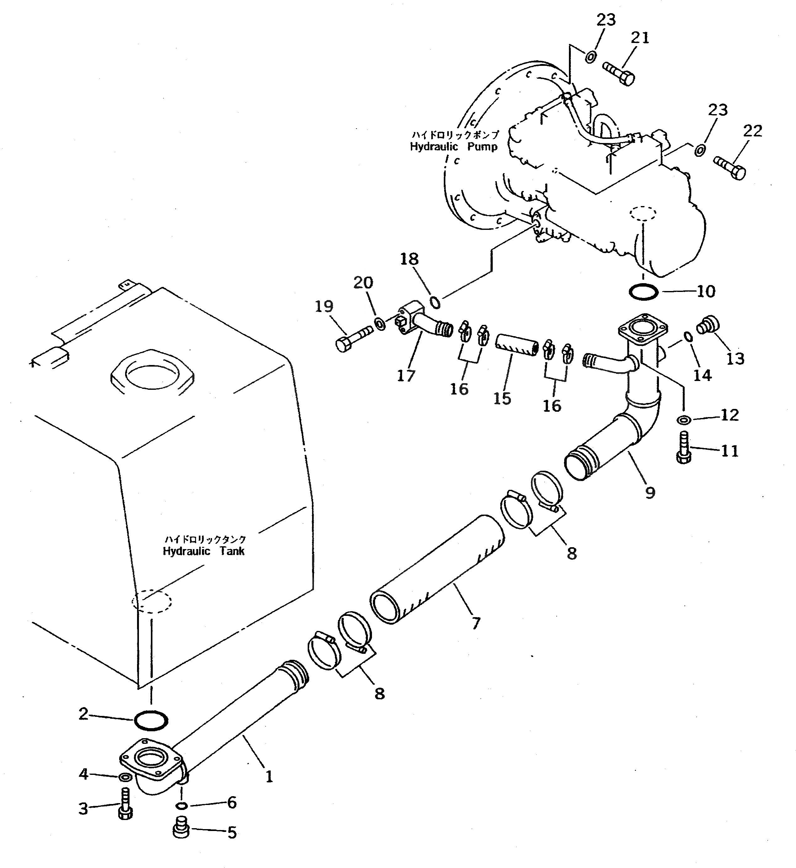
Запчасти Komatsu PC410-5 ИЗ БАКА В НАСОС ТРУБЫ УПРАВЛ-Е РАБОЧИМ ОБОРУДОВАНИЕМ

Схема запчастей Komatsu PC410-5 - ИЗ БАКА В НАСОС ТРУБЫ УПРАВЛ-Е РАБОЧИМ ОБОРУДОВАНИЕМ
FIT
1:1
100%

Артикул

Название

Примечание

Количество

1

207-62-51820

TUBE

2

07000-02095

O-RING

3

01010-51265

BOLT

4

01643-31232

WASHER

5

07002-02434

O-RING

6

07040-12412

PLUG

7

07260-08732

HOSE

7

07260-28732

HOSE

8

07289-00105

CLAMP

8

205-09-61110

CLAMP

9

208-62-51310

TUBE

10

07000-02095

O-RING

11

01010-51240

BOLT

12

01643-31232

WASHER

13

07040-12412

PLUG

14

07002-02434

O-RING

15

07260-04114

HOSE

16

208-09-11110

CLAMP

17

207-62-51840

TUBE

18

07000-03035

O-RING

19

01010-51075

BOLT

20

01643-31032

WASHER

21

01010-51240

BOLT

22

01010-51245

BOLT

23

01643-31232

WASHER

Выбрано товаров: 25