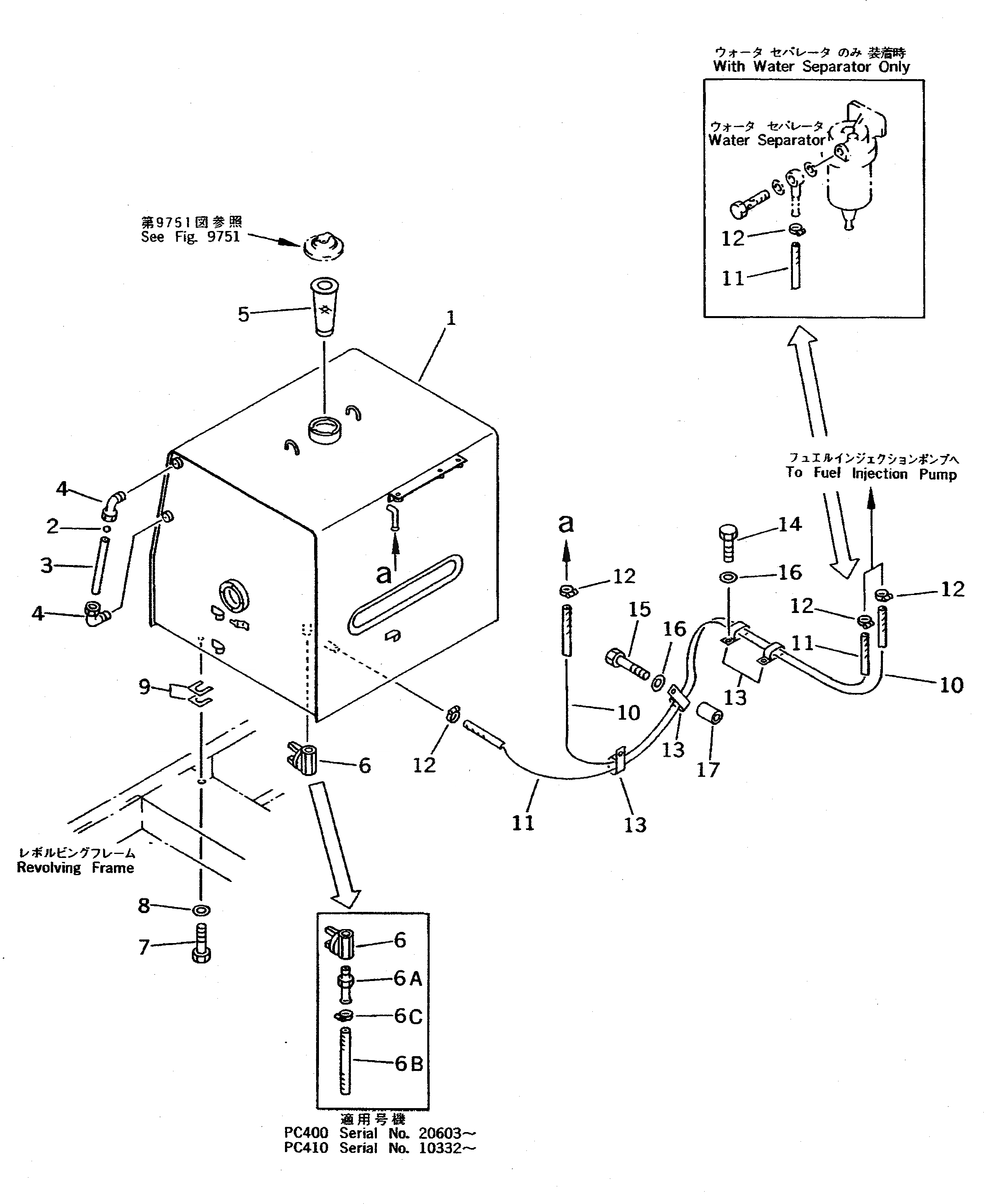
Запчасти Komatsu PC410LC-5 ТОПЛ. БАК И ТОПЛИВОПРОВОД КОМПОНЕНТЫ ДВИГАТЕЛЯ И ЭЛЕКТРИКА

Схема запчастей Komatsu PC410LC-5 - ТОПЛ. БАК И ТОПЛИВОПРОВОД КОМПОНЕНТЫ ДВИГАТЕЛЯ И ЭЛЕКТРИКА
FIT
1:1
100%

Артикул

Название

Примечание

Количество

|1

208-04-00100

FUEL TANK ASS'Y

1

TANK

2

208-04-19160

BALL

3

207-04-51120

TUBE

4

208-04-19130

ELBOW

5

07056-18416

STRAINER

6

07700-50240

VALVE

|6

20Y-04-11130

VALVE

6A

154-04-11540

NIPPLE

6B

07288-31001

HOSE

6C

07281-00197

CLAMP

7

01010-51635

BOLT

8

01643-31645

WASHER

9

195-03-11570

SHIM¤ 1.0MM

10

07288-01025

HOSE

|10

07288-01040

HOSE

11

07288-01019

HOSE

|11

07288-01031

HOSE

|11

07288-01022

HOSE,(WITH WATER SEPARATOR ONLY)

12

07281-00197

CLAMP

13

209-06-12190

CLIP

14

01010-51225

BOLT

15

01010-51265

BOLT

16

01643-31232

WASHER

17

205-03-71331

COLLAR

18

209-06-12190

CLIP,(NOT SHOWN)

19

205-03-71331

COLLAR,(NOT SHOWN)

20

01010-51265

BOLT,(NOT SHOWN)

21

01643-31232

WASHER,(NOT SHOWN)

Выбрано товаров: 29