Запчасти Komatsu PC410LC-5 УПРАВЛЯЮЩ. КЛАПАН (/7) (ДЛЯ ЭКСКАВАТ.) УПРАВЛ-Е РАБОЧИМ ОБОРУДОВАНИЕМ

Схема запчастей Komatsu PC410LC-5 - УПРАВЛЯЮЩ. КЛАПАН (/7) (ДЛЯ ЭКСКАВАТ.) УПРАВЛ-Е РАБОЧИМ ОБОРУДОВАНИЕМ
FIT
1:1
100%

Артикул

Название

Примечание

Количество

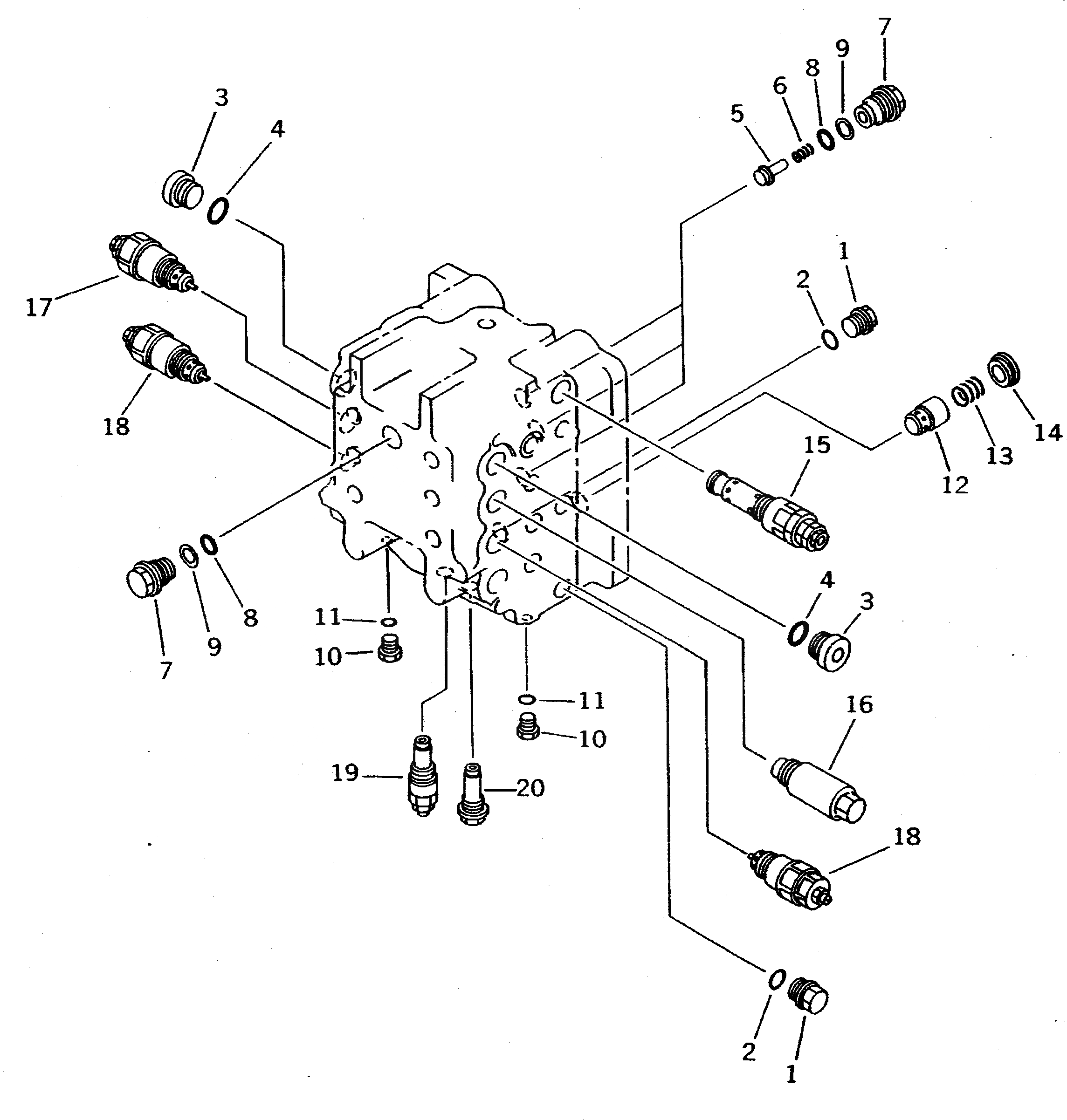
|1

709-99-14103

CONTROL VALVE ASS'Y

|1

709-99-14102

CONTROL VALVE ASS'Y

|1

709-94-94102

VALVE ASS'Y

1

709-74-91860

PLUG

2

07002-12434

O-RING

3

07040-13618

PLUG

4

07002-03634

O-RING

5

709-94-92811

VALVE

|5

709-94-92810

VALVE

6

709-94-91751

SPRING

|6

709-94-91750

SPRING

7

709-74-92821

PLUG

8

700-93-11320

O-RING

9

700-93-11330

RING,BACK-UP

10

07040-11612

PLUG

11

07002-01623

O-RING

12

709-94-91261

VALVE

13

709-94-91270

SPRING

14

709-94-91280

SEAT

15

709-90-52302

RELIEF VALVE ASS'Y

16

709-90-64100

VALVE ASS'Y

17

709-90-71300

VALVE ASS'Y,SUCTION AND SAFETY

18

709-90-71100

VALVE ASS'Y,SUCTION AND SAFETY

19

709-90-59400

VALVE ASS'Y

20

709-90-91300

ORIFICE ASS'Y

Выбрано товаров: 0