Качественные детали и логистика
Оригинальные и аналоговые запчасти с доставкой по России, Казахстану и Беларуси
©2022 PartSell ООО "Система" ИНН 2463123282 ОГРН 1212400004838
Центральный офис: г. Красноярск, Академика Киренского, д.87, пом.4
Телефон: 8 (800) 777-65-74 Email: zakaz@partsell.ru
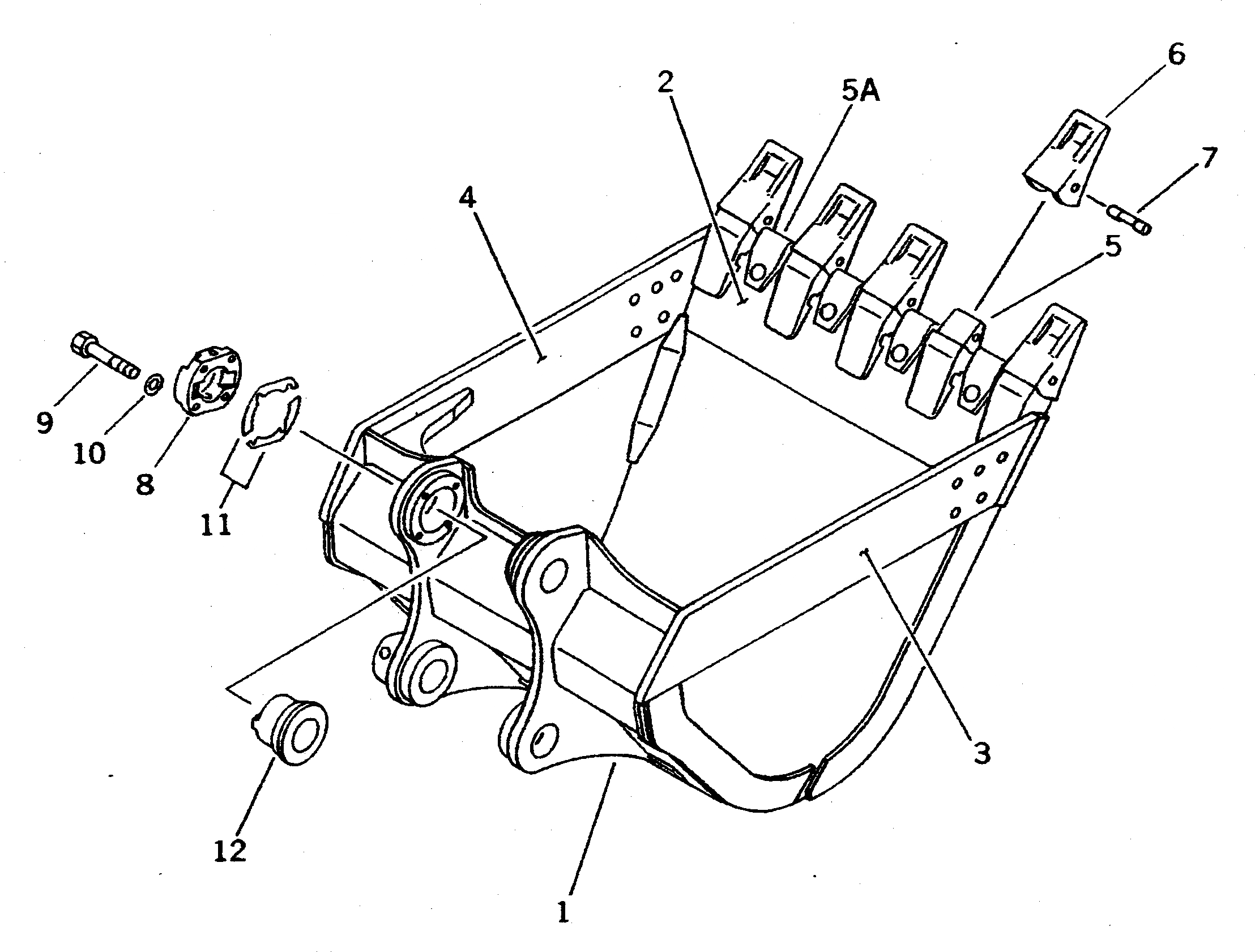
ROCK КОВШ .M. 9MM (ГОРИЗОНТАЛЬН. ПАЛЕЦ)
№
Артикул
Название
Примечание
Количество
G-1
208-934-X110
BUCKET GROUP
1
208-934-5110
BUCKET
2
208-934-5150
PLATE (WELDED)
3
208-934-5140
4
208-934-5130
5
208-934-5120
ADAPTER (WELDED)
5A
208-934-5170
SHROUD (WELDED)
6
208-70-14152
TOOTH
7
09244-03036
PIN
8
208-70-34240
COVER
9
01010-32470
BOLT
|9
01010-52470
10
01643-32460
WASHER
G-2
208-934-X120
PARTS GROUP,INDIVIDUALLY FORWARDING
11
208-70-00080
SHIM ASS'Y
|11
SHIM¤ 0.5MM
SHIM¤ 1.0MM
12
208-70-34230
BUSHING
Выбрано товаров: 0