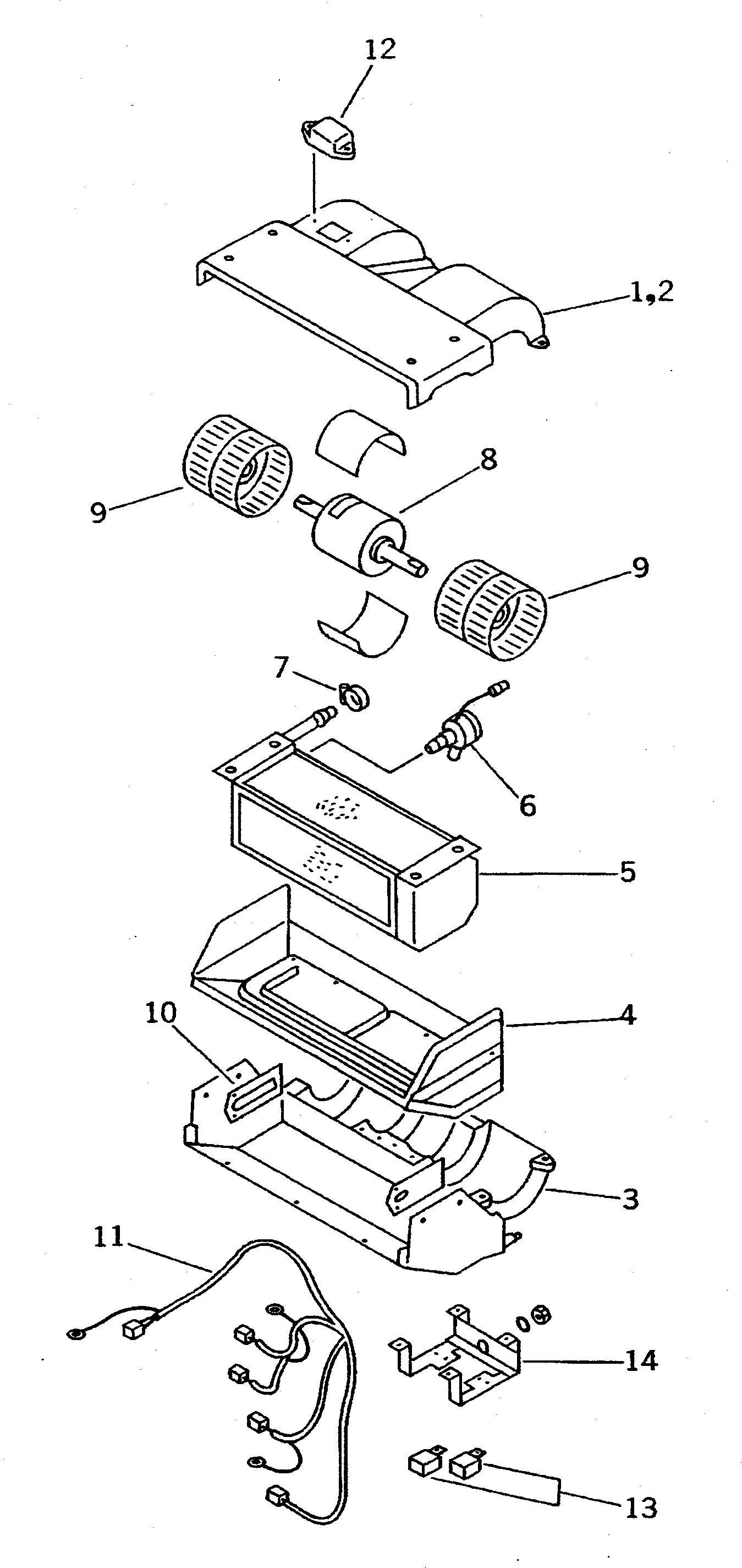
Запчасти Komatsu PC410LC-5 ОХЛАДИТЕЛЬ В СБОРЕ (/)(№-8) ЧАСТИ КОРПУСА

Схема запчастей Komatsu PC410LC-5 - ОХЛАДИТЕЛЬ В СБОРЕ (/)(№-8) ЧАСТИ КОРПУСА
FIT
1:1
100%

Артикул

Название

Примечание

Количество

|$0

20Y-978-1101

COOLER ASS'Y

|$1

20Y-978-1100

COOLER ASS'Y

|$3

CJECS74502

COOLER SUB ASS'Y

|$4

CJECS73602

COOLER SUB ASS'Y

1

CJ009-5316

CASE

2

CJ024-3970

PAD

3

CJ009-2547

CASE

4

CJ024-4070

PAD

5

CJ001-2574

EVAPORATOR

5

CJ001-0320

EVAPORATOR

6

CJ002-0839

EXPANSION

6

CJ002-0813

EXPANSION

7

CJ027-5838

CLAMP

8

CJ005-3928

MOTOR

9

CJ006-0240

FAN

10

CJ017-1866

RAIL

11

CJ019-24311

WIRING HARNESS

12

CJ018-7541

RESISTOR

13

CJ042-3118

RELAY

14

CJ017-0414

STAY

Выбрано товаров: 20