Запчасти Komatsu PC410LC-5 ЭЛЕКТРИКА (КОМПОНЕНТЫ) КОМПОНЕНТЫ ДВИГАТЕЛЯ И ЭЛЕКТРИКА

Схема запчастей Komatsu PC410LC-5 - ЭЛЕКТРИКА (КОМПОНЕНТЫ) КОМПОНЕНТЫ ДВИГАТЕЛЯ И ЭЛЕКТРИКА
FIT
1:1
100%

Артикул

Название

Примечание

Количество

|$0

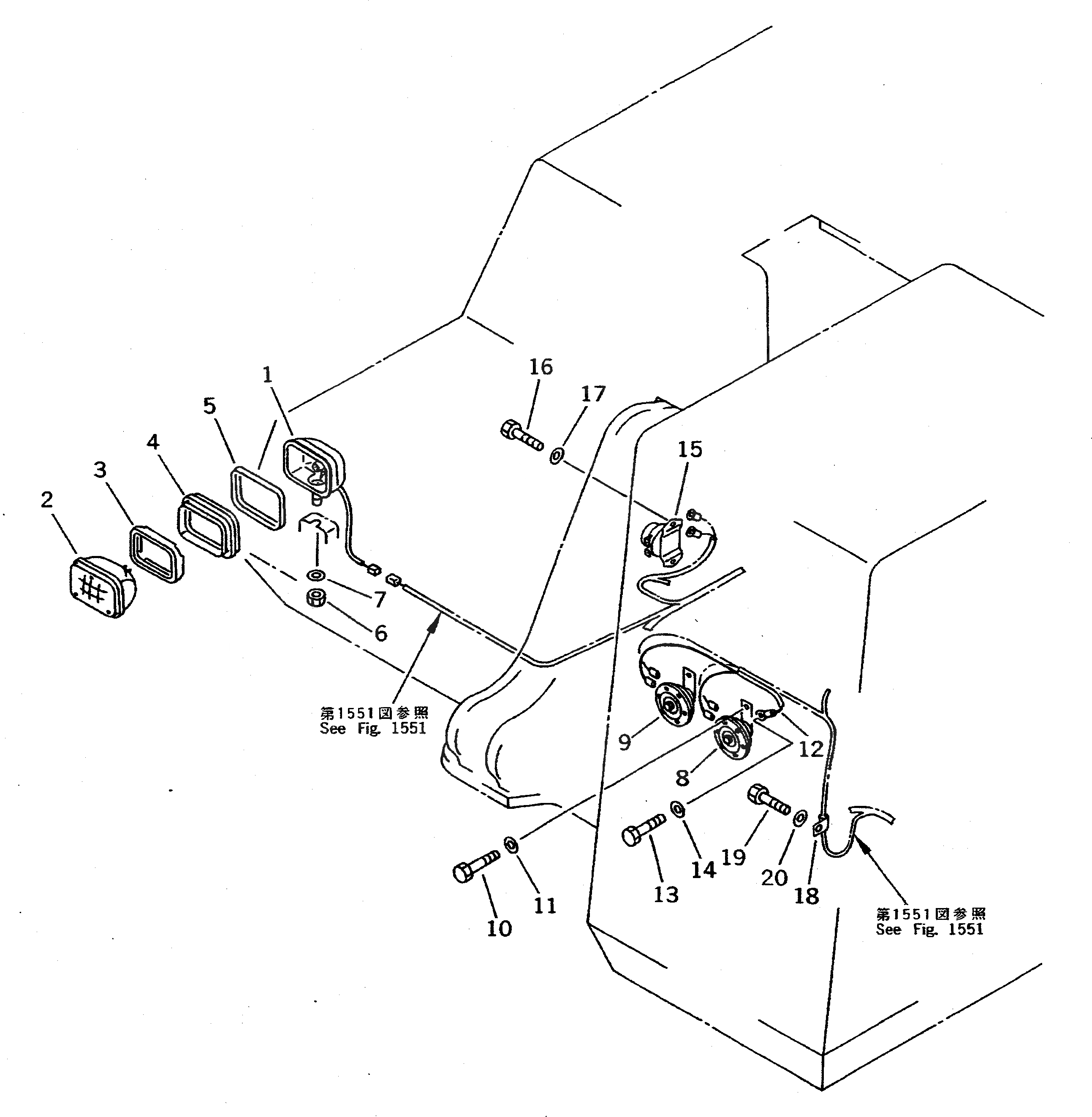
203-06-56140

LAMP ASS'Y

1

HOUSING

2

22W-06-12170

BULB

3

203-06-56180

RING

4

22W-06-12290

CUSHION

5

203-06-56190

RING

6

01582-11411

NUT

7

01643-31445

WASHER

8

208-06-51430

HORN,HIGH

9

208-06-51440

HORN,LOW

10

01010-50825

BOLT

11

01643-30823

WASHER

12

208-06-51450

WIRING HARNESS

13

01010-50825

BOLT

14

01643-30823

WASHER

15

08088-10000

SWITCH,BATTERY RELAY

16

01010-50820

BOLT

17

01643-30823

WASHER

18

08036-00814

CLIP

19

01010-51225

BOLT

20

01643-31232

WASHER

Выбрано товаров: 21