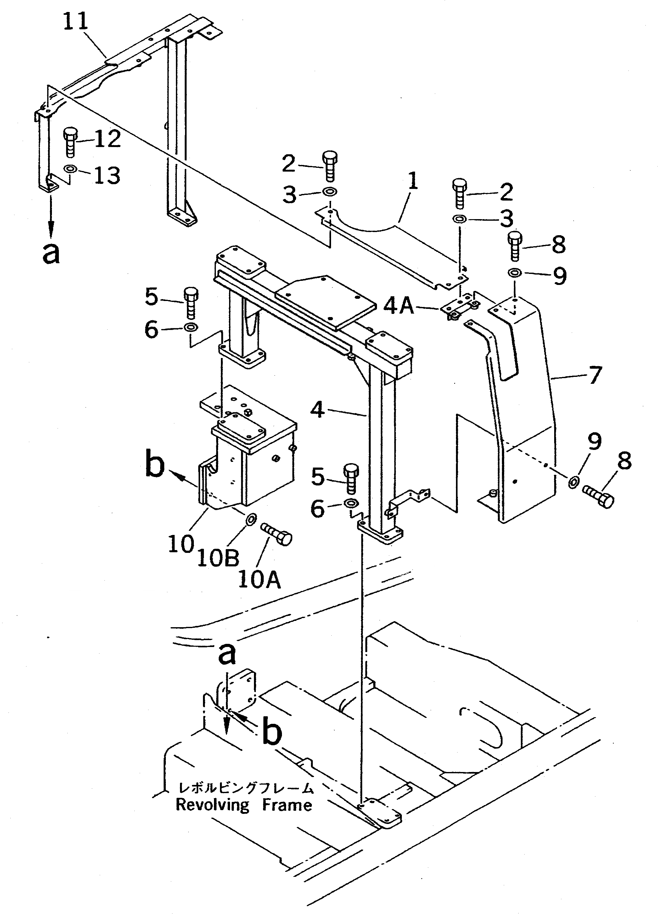
Запчасти Komatsu PC410LC-5 КРЫШКАAND РАМА (ДЛЯ НАСОСS) ЧАСТИ КОРПУСА

Схема запчастей Komatsu PC410LC-5 - КРЫШКАAND РАМА (ДЛЯ НАСОСS) ЧАСТИ КОРПУСА
FIT
1:1
100%

Артикул

Название

Примечание

Количество

1

208-956-5170

COVER

2

01010-51225

BOLT

3

01643-31232

WASHER

4

207-970-5670

GUARD

4A

207-956-5181

BRACKET

5

01010-51640

BOLT

6

01643-31645

WASHER

7

207-956-5161

COVER

8

01010-51225

BOLT

9

01643-31232

WASHER

10

207-956-5190

BRACKET

10A

01010-51640

BOLT

10B

01643-31645

WASHER

11

208-956-5211

BRACKET

12

01010-51230

BOLT

13

01643-31232

WASHER

Выбрано товаров: 16