Запчасти Komatsu PC45-1 КАПОТ (/)(№-) ЧАСТИ КОРПУСА

Схема запчастей Komatsu PC45-1 - КАПОТ (/)(№-) ЧАСТИ КОРПУСА
FIT
1:1
100%

Артикул

Название

Примечание

Количество

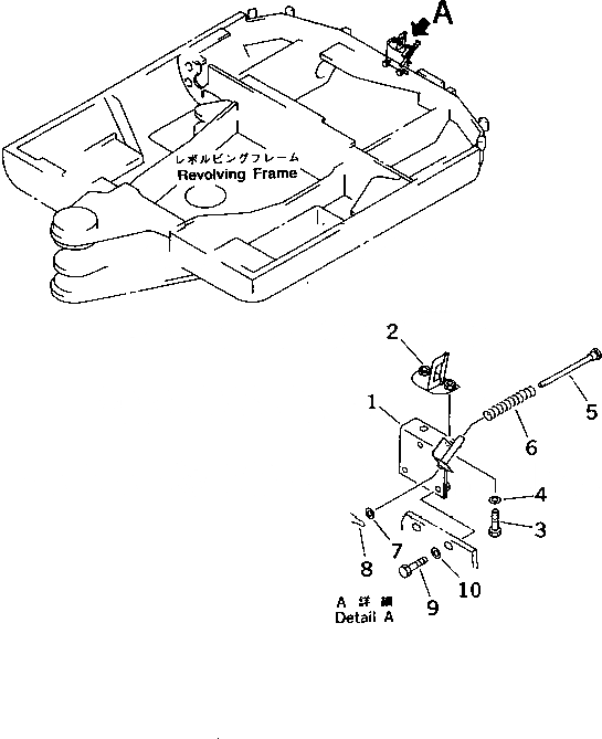
1

20T-54-72542

BRACKET

2

20T-54-72512

BRACKET

3

01010-51025

BOLT

4

01643-31032

WASHER

5

20T-54-72641

PIN

6

20T-54-72751

SPRING

7

01641-20812

WASHER

8

04050-12015

PIN,COTTER

9

01010-51030

BOLT

10

01643-31032

WASHER

Выбрано товаров: 0