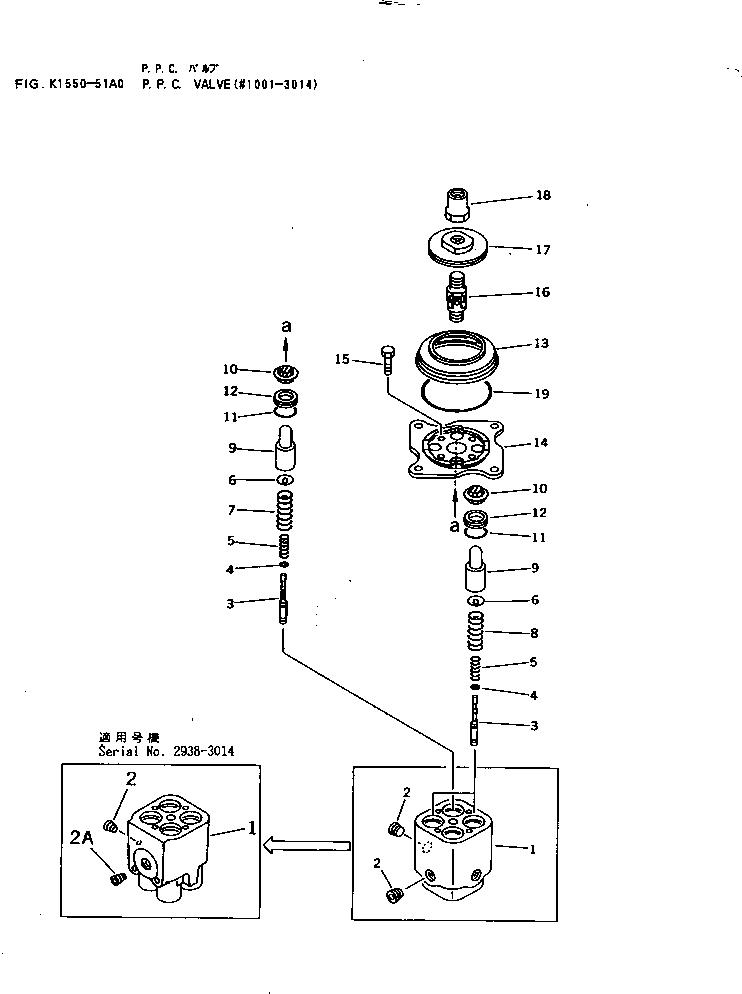
Запчасти Komatsu PC45-1 P.P.C. КЛАПАН(№-) КАБИНА ОПЕРАТОРА И СИСТЕМА УПРАВЛЕНИЯ

Схема запчастей Komatsu PC45-1 - P.P.C. КЛАПАН(№-) КАБИНА ОПЕРАТОРА И СИСТЕМА УПРАВЛЕНИЯ
FIT
1:1
100%

Артикул

Название

Примечание

Количество

|1

702-16-01091

PILOT VALVE

|1

702-16-01011

PILOT VALVE

|1

702-16-01010

PILOT VALVE

1

BODY,VALVE

|1

702-16-53110

BODY,VALVE

2

706-86-51180

PLUG

|2

PLUG

2A

PLUG

3

VALVE

4

702-16-51140

SHIM¤ 0.30MM

5

702-16-53420

SPRING

|5

702-16-53131

SPRING

6

702-16-53140

RETAINER

7

702-16-53160

SPRING

8

702-16-53590

SPRING

|8

702-16-53150

SPRING

9

702-16-53170

PISTON

10

702-16-51270

SEAL

11

07000-02020

O-RING

12

702-16-53290

COLLAR

13

702-16-53190

BOOT

14

702-16-53210

PLATE

15

01010-50620

BOLT

|15

01010-50616

BOLT

16

702-16-51240

JOINT

17

702-16-53220

DISC

18

702-16-53230

NUT

19

07000-02070

O-RING

|19

702-16-53370

O-RING

Выбрано товаров: 29