Запчасти Komatsu PC45-1 КАПОТ (/) ЧАСТИ КОРПУСА

Схема запчастей Komatsu PC45-1 - КАПОТ (/) ЧАСТИ КОРПУСА
FIT
1:1
100%

Артикул

Название

Примечание

Количество

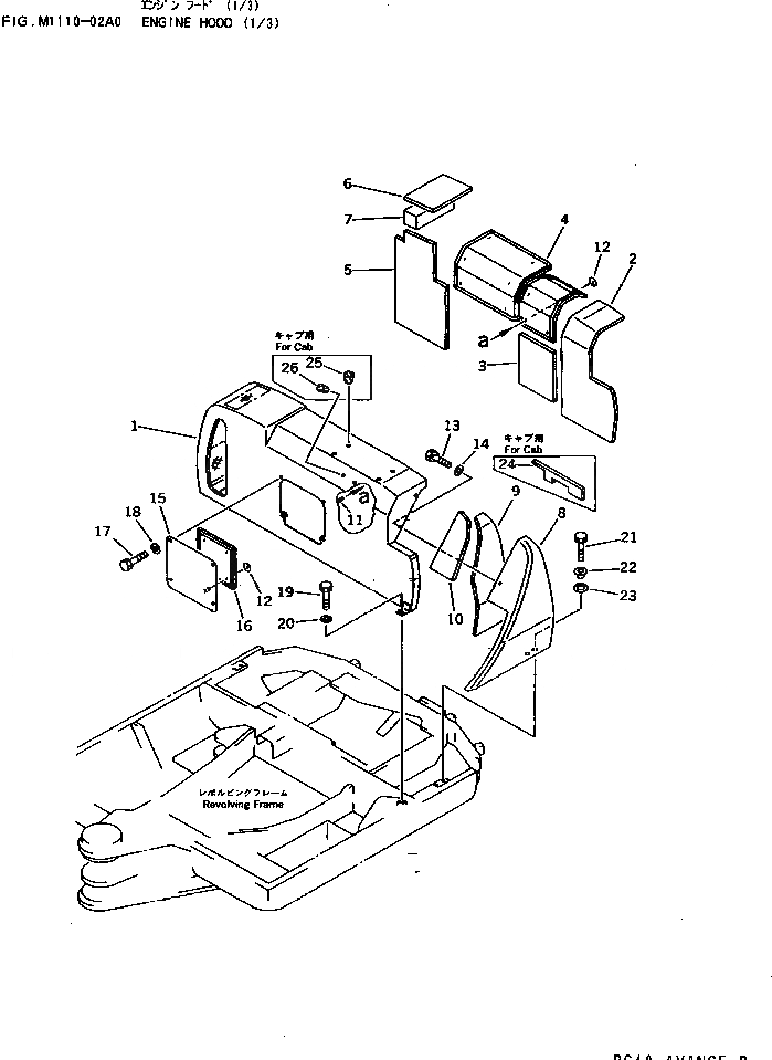
|1

20T-54-72101

COVER ASS'Y

1

COVER

2

20T-54-72141

SHEET

3

20T-54-72680

SHEET

4

20T-54-72191

SHEET

5

20T-54-72151

SHEET

6

20T-54-72690

SHEET

7

20T-54-72481

SHEET

8

20T-54-72252

COVER

9

20T-54-72291

SHEET

10

20T-54-72161

SHEET

11

04431-11000

CLIP

12

04431-30000

PLATE

13

01010-51020

BOLT

14

01643-31032

WASHER

15

20T-54-72261

PLATE

16

20T-54-72670

SHEET

17

01010-50820

BOLT

18

01643-30823

WASHER

19

01010-51235

BOLT

20

01643-31232

WASHER

21

01010-51235

BOLT

22

20S-70-31180

SPACER

23

20T-54-72730

WASHER

24

20T-54-71660

SHEET,(FOR CAB)

25

07049-01620

PLUG,(FOR CAB)

26

07049-01012

PLUG,(FOR CAB)

Выбрано товаров: 27