Запчасти Komatsu PC45-1 КОВШ¤ .M (MINI .M) MM РАБОЧЕЕ ОБОРУДОВАНИЕ

Схема запчастей Komatsu PC45-1 - КОВШ¤ .M (MINI .M) MM РАБОЧЕЕ ОБОРУДОВАНИЕ
FIT
1:1
100%

Артикул

Название

Примечание

Количество

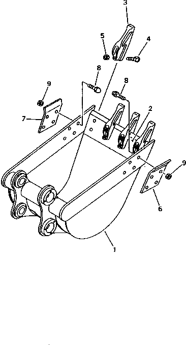
|1

20T-70-01030

BUCKET ASS'Y

1

20T-70-71310

BUCKET,(585MM)

2

20T-70-71320

LIP (WELDED)

3

20T-70-13130

TOOTH

4

02090-11060

BOLT

5

02205-11015

NUT

6

20U-70-13241

CUTTER,SIDE¤ L.H.

7

20U-70-13251

CUTTER,SIDE¤ R.H.

8

20U-70-28130

BOLT

|8

20U-70-13270

BOLT

9

203-32-51220

NUT

Выбрано товаров: 11