Запчасти Komatsu PC450-6 НАВЕСНОЕ ОБОРУД-Е (PPC) ( АКТУАТОР)(№-8) КАБИНА ОПЕРАТОРА И СИСТЕМА УПРАВЛЕНИЯ

Схема запчастей Komatsu PC450-6 - НАВЕСНОЕ ОБОРУД-Е (PPC) ( АКТУАТОР)(№-8) КАБИНА ОПЕРАТОРА И СИСТЕМА УПРАВЛЕНИЯ
FIT
1:1
100%

Артикул

Название

Примечание

Количество

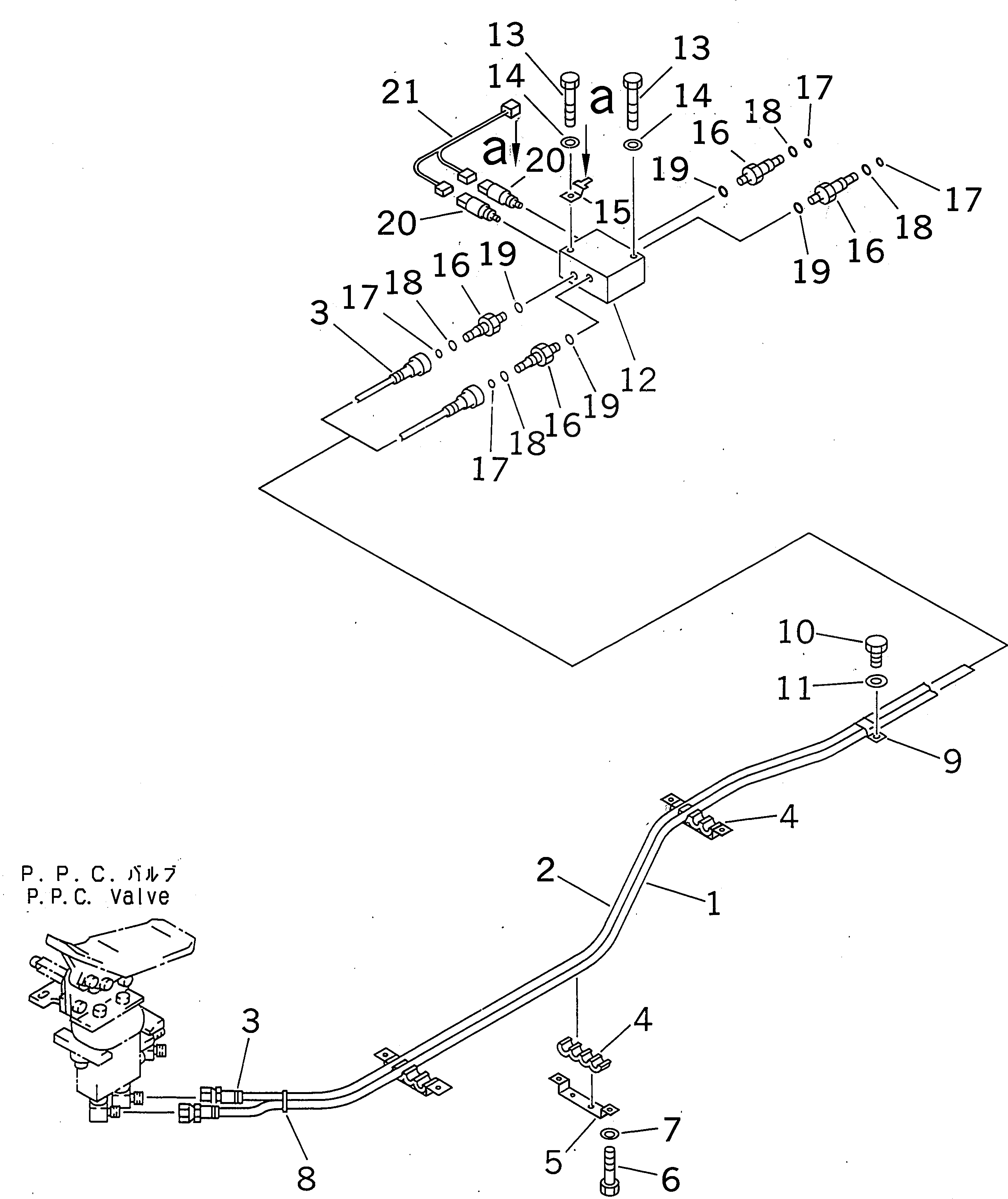
1

20Y-62-23410

HOSE, 1950MM

2

20Y-62-23570

HOSE, 1900MM

3

20Y-62-22810

BAND, YELLOW

4

20Y-62-22170

CLAMP

5

20Y-62-22180

CLAMP

6

01010-51016

BOLT

7

01643-31032

WASHER

8

08034-00536

BAND

9

21T-72-23270

CLIP

10

01010-51225

BOLT

11

01643-31032

WASHER

12

20Y-62-22220

BLOCK

13

01010-51065

BOLT

14

01643-31032

WASHER

15

08053-01512

CLIP

16

20Y-62-16630

NIPPLE

17

201-60-11390

O-RING

18

20Y-62-19560

O-RING

19

07002-01423

O-RING

20

20Y-06-21710

SWITCH

21

20Y-06-21330

WIRING HARNESS

Выбрано товаров: 21