Качественные детали и логистика
Оригинальные и аналоговые запчасти с доставкой по России, Казахстану и Беларуси
©2022 PartSell ООО "Система" ИНН 2463123282 ОГРН 1212400004838
Центральный офис: г. Красноярск, Академика Киренского, д.87, пом.4
Телефон: 8 (800) 777-65-74 Email: zakaz@partsell.ru
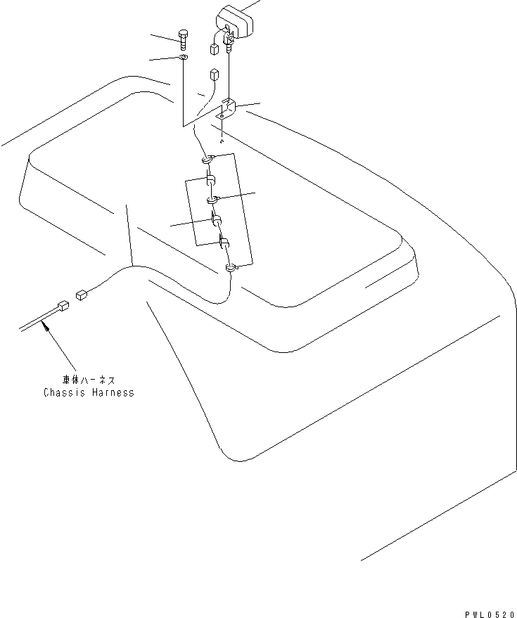
ЗАДН. РАБОЧ. ОСВЕЩЕНИЕ(№-)
№
Артикул
Название
Примечание
Количество
1
205-06-K1223
WORK LAMP ASS'Y
2
20Y-06-K2480
BRACKET
3
01010-81225
BOLT
4
01643-31232
WASHER
5
207-06-K2160
WIRING HARNESS
6
08036-11214
CLIP
7
08034-00414
BAND
Выбрано товаров: 0