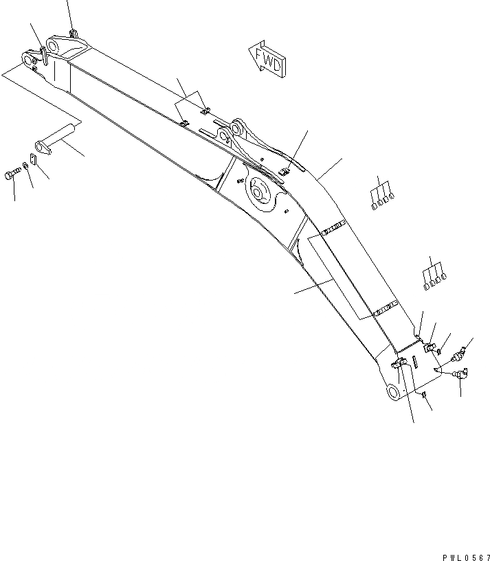
Запчасти Komatsu PC450-6K-KE СТРЕЛА (СТРЕЛА И ВЕРХН. ПАЛЕЦ) РАБОЧЕЕ ОБОРУДОВАНИЕ

Схема запчастей Komatsu PC450-6K-KE - СТРЕЛА (СТРЕЛА И ВЕРХН. ПАЛЕЦ) РАБОЧЕЕ ОБОРУДОВАНИЕ
1
2
2
2
2
3
4
5
6
7
8
9
10
11
11
12
13
14
15
FIT
1:1
100%

Артикул

Название

Примечание

Количество

|1

208-70-00500

BOOM ASS'Y

1

BOOM

|2

BOOM

2

205-62-73430

SEAT

3

205-70-71280

SEAT (WELDED)

4

208-62-64171

BRACKET (WELDED)

5

208-62-64180

BRACKET (WELDED)

6

207-62-54750

BRACKET (WELDED)

7

207-62-54840

BRACKET (WELDED)

8

208-62-34180

BRACKET (WELDED)

9

208-62-34190

BRACKET (WELDED)

10

207-62-54740

BRACKET (WELDED)

11

07020-00675

FITTING

12

208-70-31181

PIN

13

205-70-61560

PLATE

14

01010-82045

BOLT

15

01643-32060

WASHER

Выбрано товаров: 17