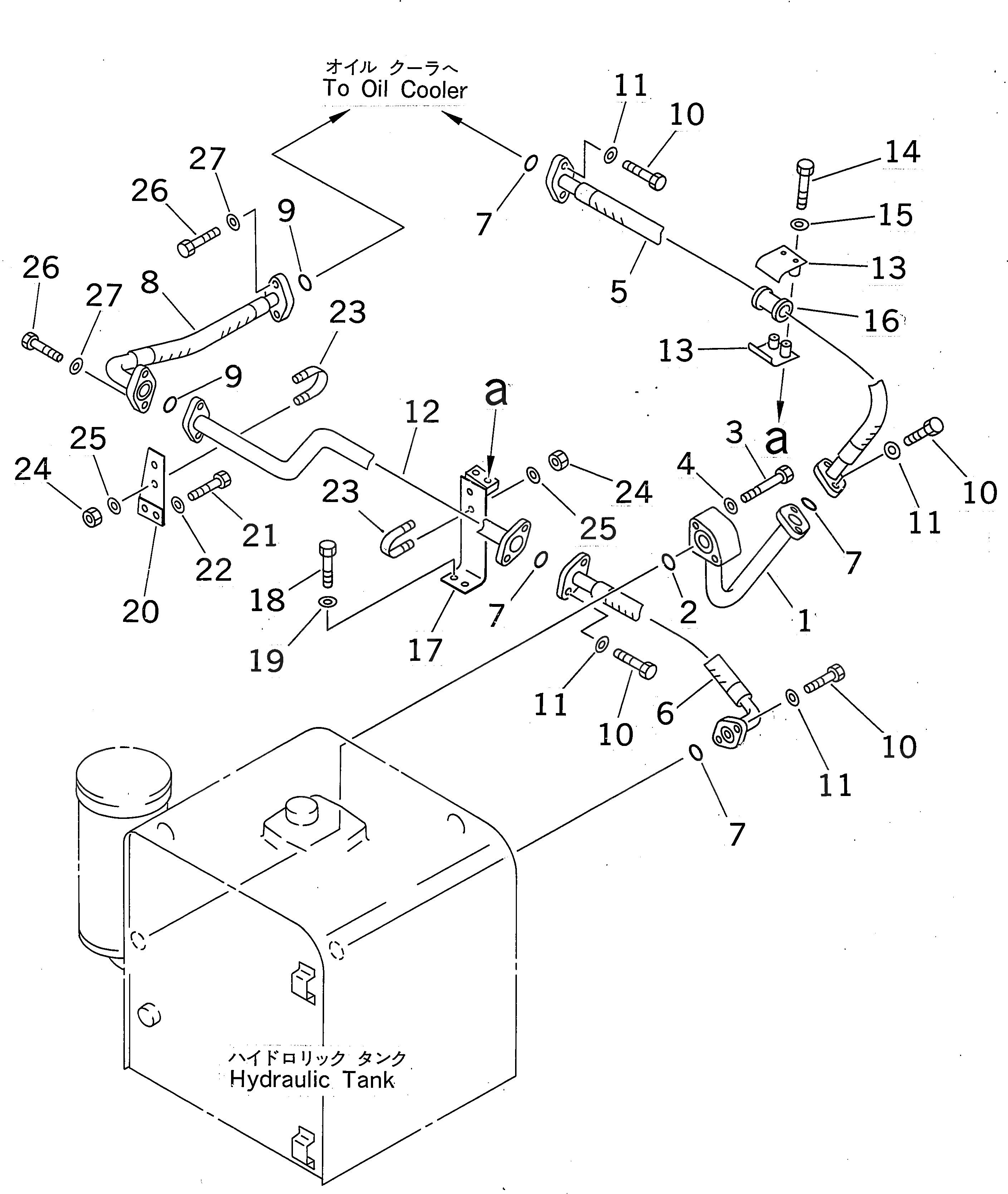
Запчасти Komatsu PC450-6K-KE МАСЛООХЛАДИТЕЛЬ ЛИНИИ ГИДРАВЛИКА

Схема запчастей Komatsu PC450-6K-KE - МАСЛООХЛАДИТЕЛЬ ЛИНИИ ГИДРАВЛИКА
FIT
1:1
100%

Артикул

Название

Примечание

Количество

1

207-62-62141

TUBE

2

07000-03045

O-RING

3

01010-81295

BOLT

4

01643-31232

WASHER

5

207-62-62250

HOSE¤ 1575MM

6

207-62-62480

HOSE¤ 750MM

7

07000-13048

O-RING

8

207-62-51310

HOSE

9

07000-13048

O-RING

10

01010-81240

BOLT

11

01643-31232

WASHER

12

208-62-62111

TUBE

13

07094-01228

CLAMP

14

01010-81285

BOLT

15

01643-31232

WASHER

16

07095-01245

CUSHION

17

207-62-62490

BRACKET

18

01010-81235

BOLT

19

01643-31232

WASHER

20

207-62-62520

BRACKET

21

01010-81240

BOLT

22

01643-31232

WASHER

23

07283-24949

CLIP

24

01599-01011

NUT

25

01643-31032

WASHER

26

01010-81240

BOLT

27

01643-31232

WASHER

Выбрано товаров: 27