Запчасти Komatsu PC450-6K ПОВОРОТН. КРУГ(№K-K999) ПОВОРОТН. КРУГ И КОМПОНЕНТЫ

Схема запчастей Komatsu PC450-6K - ПОВОРОТН. КРУГ(№K-K999) ПОВОРОТН. КРУГ И КОМПОНЕНТЫ
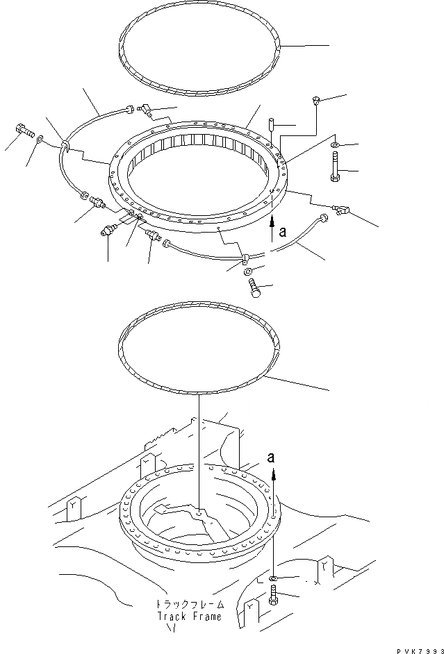
1
2
2
3
4
5
6
7
8
9
9
10
11
11
12
12
13
13
14
14
15
16
17
FIT
1:1
100%

Артикул

Название

Примечание

Количество

1

208-25-68100

SWING CIRCLE ASS'Y

2

207-25-K1150

SEAL

3

205-25-71280

NIPPLE

4

207-25-K1120

BOLT

|4

207-25-31180

BOLT

5

01643-32460

WASHER

6

04020-01842

PIN

7

208-25-61211

TUBE

8

208-25-61221

TUBE

9

20Y-25-11270

ELBOW

10

07020-00000

FITTING,GREASE

11

07214-50813

CONNECTOR

12

08036-00814

CLIP

13

01010-81020

BOLT

14

01643-31032

WASHER

15

208-25-K1130

BOLT

|15

208-25-61230

BOLT

16

01643-32780

WASHER

17

07049-03038

PLUG

Выбрано товаров: 19