Запчасти Komatsu PC450-6K ГИДР. БАК. (БАК) ГИДРАВЛИКА

Схема запчастей Komatsu PC450-6K - ГИДР. БАК. (БАК) ГИДРАВЛИКА
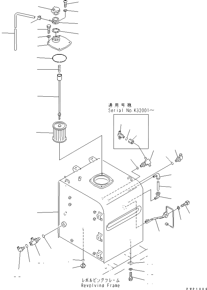
1
2
3
3
4
5
6
7
8
9
10
11
12
13
14
15
16
17
18
19
20
21
22
23
24
25
26
27
28
29
30
31
32
33
34
35
36
FIT
1:1
100%

Артикул

Название

Примечание

Количество

|1

208-60-K1402

TANK ASS'Y,HYDRAULIC

|1

208-60-K1400

TANK ASS'Y,HYDRAULIC

|1

208-60-K1201

TANK ASS'Y,HYDRAULIC

1

208-60-K1142

TANK

|1

208-60-K1140

TANK

|1

208-60-68110

TANK

2

203-60-31160

TUBE

3

203-60-31100

ELBOW ASS'Y

4

07044-12412

PLUG

5

07002-12434

O-RING

|5

07002-02434

O-RING

6

20E-60-K1210

COVER

7

07000-15180

O-RING

|7

07000-05180

O-RING

8

01010-81235

BOLT

9

01643-31232

WASHER

|10

207-70-K1170

STRAINER ASS'Y

10

207-60-K1160

ROD ASS'Y

11

207-60-51200

STRAINER

12

12R-60-11230

SPRING

13

17A-60-11310

CAP ASS'Y

14

20Y-60-21460

NECK

15

20Y-60-21340

GASKET

|15

205-60-51460

GASKET

16

01220-40516

SCREW

17

01601-20513

WASHER,SPRING

18

07270-61512

TUBE

19

07285-00155

CLIP

20

207-62-62780

TEE

21

07002-12434

O-RING

|21

07002-02434

O-RING

22

07235-10522

ELBOW

23

07002-12434

O-RING

|23

07002-02434

O-RING

24

07236-11034

ELBOW

25

07002-13334

O-RING

|25

07002-03334

O-RING

26

209-62-27580

TEE

27

07002-12034

O-RING

|27

07002-02034

O-RING

28

7861-92-4210

SENSOR

|28

7861-91-4220

O-RING

29

01252-40612

BOLT

30

01641-20608

WASHER

31

01010-81635

BOLT

32

01643-31645

WASHER

33

195-03-11570

SHIM¤ 1.0MM

34

20Y-62-21880

JOINT

35

07002-12034

O-RING

36

209-62-27580

TEE

Выбрано товаров: 50