Запчасти Komatsu PC450-6Z ГИДР. БАК.(№-) ГИДРАВЛИКА

Схема запчастей Komatsu PC450-6Z - ГИДР. БАК.(№-) ГИДРАВЛИКА
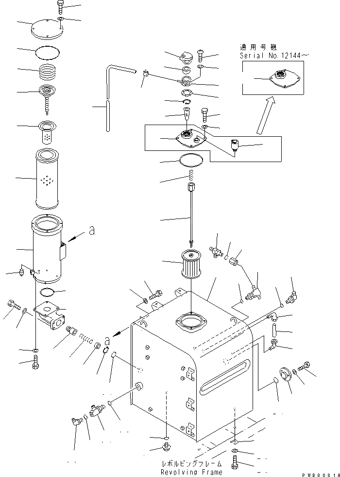
1
2
3
3
4
5
6
6
7
8
9
10
11
12
13
14
15
16
17
18
19
20
21
22
23
24
25
26
27
28
29
30
31
32
33
34
35
36
37
38
39
40
41
42
43
44
45
46
47
48
49
50
51
52
53
54
55
56
57
58
59
60
61
62
63
64
FIT
1:1
100%

Артикул

Название

Примечание

Количество

|1

208-60-00120

HYDRAULIC TANK ASS'Y

1

TANK

2

203-60-31160

TUBE

3

203-60-31100

ELBOW ASS'Y

4

07044-12412

PLUG

5

07002-12434

O-RING

6

207-60-61171

COVER

|6

208-60-61190

COVER

7

07000-15180

O-RING

8

01010-81225

BOLT

9

01643-31232

WASHER

|10

207-60-61140

STRAINER ASS'Y

10

207-60-61150

ROD ASS'Y

11

12R-60-11230

SPRING

12

207-60-51200

STRAINER

13

17A-60-11310

CAP ASS'Y

14

20Y-60-21470

ELEMENT

15

20Y-60-21460

NECK

16

20Y-60-21340

GASKET

|16

205-60-66211

GASKET

17

01252-70516

BOLT

|17

01220-40516

SCREW

18

01601-20513

WASHER

19

07056-10045

STRAINER

20

04065-04718

RING

21

207-60-61190

TUBE

|21

07270-61515

TUBE

22

07285-00155

CLIP

23

20Y-60-11650

PLUG

24

7861-91-4220

O-RING

25

01010-80612

BOLT

26

01641-20608

WASHER

27

424-U40-1120

BREATHER

28

01010-81635

BOLT

29

01643-31645

WASHER

30

195-03-11570

SHIM¤ 1.0MM

31

208-60-61310

CASE

32

208-60-61140

COVER

33

07000-15210

O-RING

34

01010-81235

BOLT

35

01643-31232

WASHER

36

07069-34057

SPRING

|36

12R-60-11390

SPRING

37

07069-05400

VALVE ASS'Y

|37

12R-60-11300

VALVE ASS'Y

38

07069-25400

STRAINER

|38

206-60-41221

STRAINER

39

208-60-61180

ELEMENT

40

205-60-71230

POPPET

41

706-76-71190

SPRING

42

04065-05020

RING

43

207-60-51170

SPACER

44

07042-30211

PLUG

45

208-60-61321

BRACKET

|45

208-60-61320

BRACKET

46

01010-81025

BOLT

|46

01010-81030

BOLT

47

01643-31032

WASHER

48

07000-12095

O-RING

49

01010-81230

BOLT

50

01643-31232

WASHER

51

07000-12060

O-RING

52

01010-81245

BOLT

53

01643-31232

WASHER

54

207-62-62780

TEE

55

07002-12434

O-RING

56

07235-10522

ELBOW

57

07002-12434

O-RING

58

07236-11034

ELBOW

59

07002-13334

O-RING

60

209-62-27580

TEE

61

07002-12034

O-RING

62

20Y-62-21880

JOINT

63

209-62-27580

TEE

64

07002-12034

O-RING

Выбрано товаров: 75