Запчасти Komatsu PC450-7E0 ГУСЕНИЧНАЯ РАМА (ПОЛН. ЗАЩИТА КАТКОВ) ХОДОВАЯ

Схема запчастей Komatsu PC450-7E0 - ГУСЕНИЧНАЯ РАМА (ПОЛН. ЗАЩИТА КАТКОВ) ХОДОВАЯ
1
1
2
2
3
3
4
4
5
5
5
6
6
6
7
7
8
8
8
8
9
9
10
10
FIT
1:1
100%

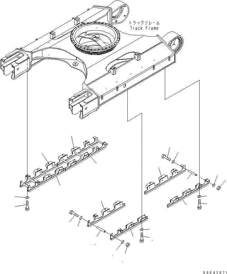
Артикул

Название

Примечание

Количество

1

208-30-77110

GUARD, L.H.

2

208-30-77120

GUARD, L.H.

3

208-30-77130

GUARD, R.H.

4

208-30-77140

GUARD, R.H.

5

01010-62455

BOLT

6

01643-32460

WASHER

7

421-975-1230

BOLT

8

01643-32460

WASHER

9

01580-12419

NUT

10

150-30-15553

SPACER

Выбрано товаров: 10