Запчасти Komatsu PC450-8 КАБИНА (ЗАМОК ДВЕРИ) K [КАБИНА ОПЕРАТОРА И СИСТЕМА УПРАВЛЕНИЯ]

Схема запчастей Komatsu PC450-8 - КАБИНА (ЗАМОК ДВЕРИ) K [КАБИНА ОПЕРАТОРА И СИСТЕМА УПРАВЛЕНИЯ]
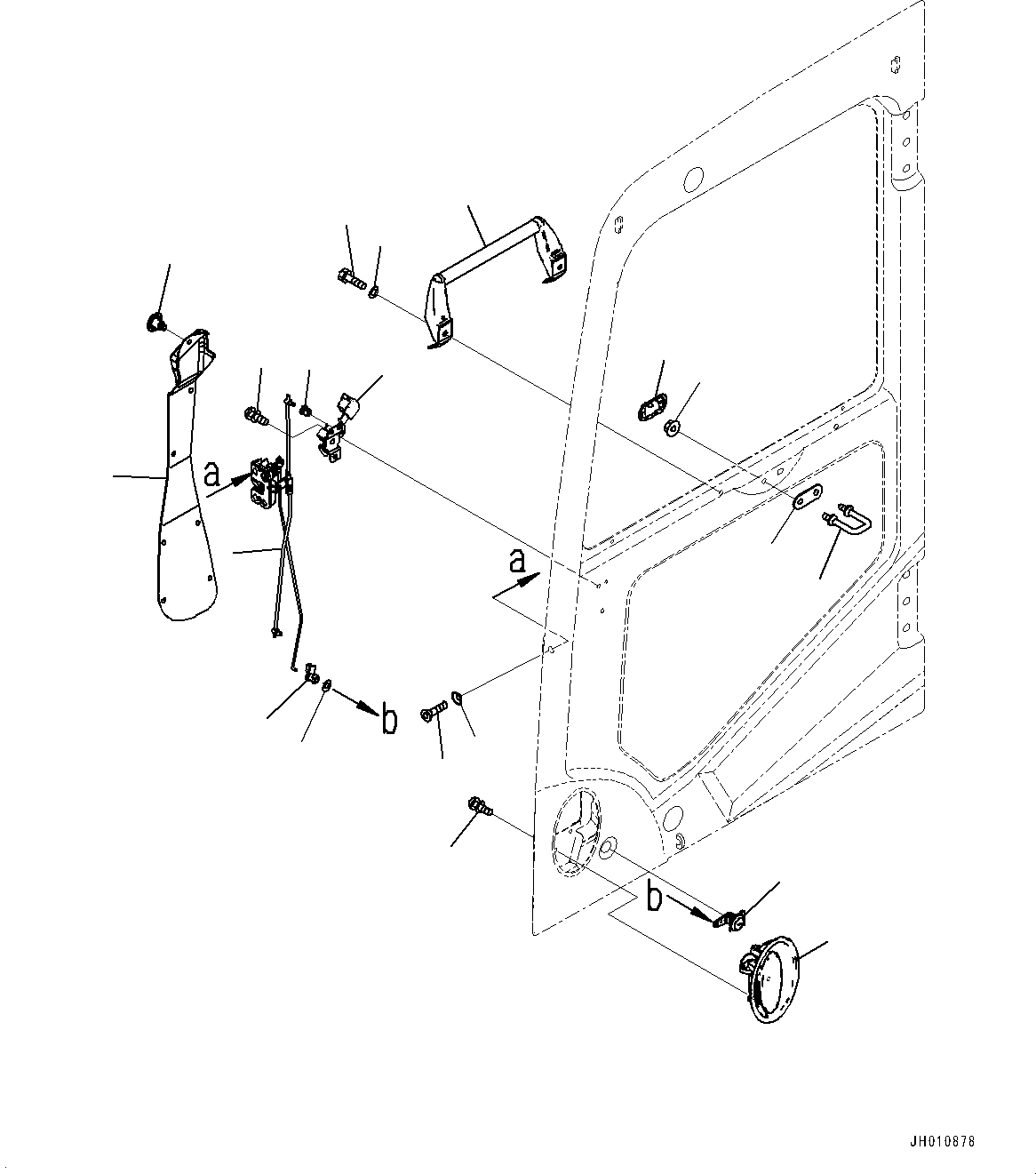
13
14
15
1
4
6
8
7
18
19
16
17
12
11
5
9
10
2
3
20
FIT
1:1
100%

Артикул

Название

Примечание

Количество

|$1

208-53-00890

CAB ASSEMBLY

|$2

20Y-53-00891

DOOR ASSEMBLY

1

20Y-53-12201

LATCH ASSEMBLY

2

20Y-54-52300

HANDLE ASSEMBLY

3

22B-54-16340

SNAP

4

01023-10612

SCREW

5

20Y-53-12991

HANDLE

6

01023-10612

SCREW

7

01240-00616

SCREW

8

195-Z11-1690

WASHER

9

2A5-53-12710

LOCK ASSEMBLY

10

22B-54-16330

SNAP

11

20Y-53-11320

STRIKER

12

20Y-53-12940

PLATE

13

01584-01008

NUT

14

20Y-53-12661

COVER

15

2A5-53-13130

GRIP

16

01010-80820

BOLT

17

01643-30823

WASHER

18

20Y-53-11441

COVER

19

22B-54-16461

RIVET

20

145-Z79-6270

WASHER

Выбрано товаров: 22