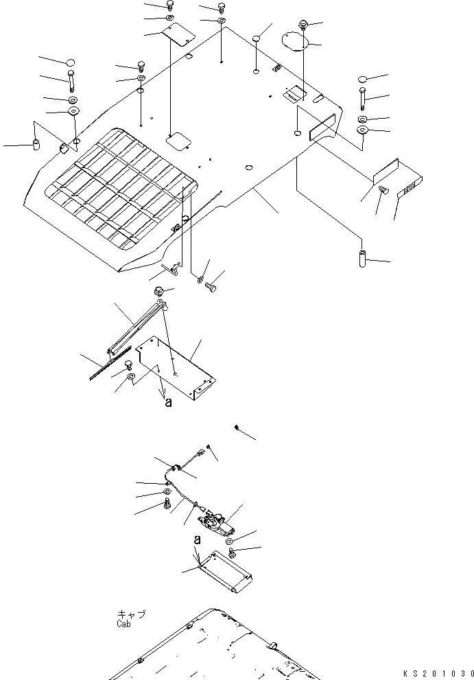
Запчасти Komatsu PC450-8 ВЕРХНЯЯ ЗАЩИТА (LV) (СПЕЦ-Я ДЛЯ РАЗРУШ. ЗДАНИЙ) K OPERATORґS ОБСТАНОВКА И СИСТЕМА УПРАВЛЕНИЯ

Схема запчастей Komatsu PC450-8 - ВЕРХНЯЯ ЗАЩИТА (LV) (СПЕЦ-Я ДЛЯ РАЗРУШ. ЗДАНИЙ) K OPERATORґS ОБСТАНОВКА И СИСТЕМА УПРАВЛЕНИЯ
20
27
15
16
14
26
29
30
28
34
34
34
34
22
21
23
24
35
17
25
37
36
1
2
40
39
38
7
4
3
8
10
11
9
13
12
32
33
31
18
19
8
6
4
7
5
FIT
1:1
100%

Артикул

Название

Примечание

Количество

1

20Y-954-6412

GUARD

2

20Y-954-6421

BOSS

3

01011-D1260

BOLT

4

01643-71232

WASHER

5

20Y-954-6360

BOSS

6

01011-D1220

BOLT

7

130-43-64260

COLLAR

8

195-Z11-2970

CAP

9

09415-02512

CAP

10

20Y-954-6250

PLATE

11

01023-20612

SCREW

12

01010-D1220

BOLT

13

01643-71232

WASHER

14

207-54-86430

MOTOR

15

01010-D0816

BOLT

16

01643-70823

WASHER

17

20Y-954-6282

BRACKET

18

01010-D1055

BOLT

19

01643-71032

WASHER

20

20Y-954-6311

COVER

21

01010-D0816

BOLT

22

01643-70823

WASHER

23

08185-00350

BLADE

24

209-54-81790

ARM ASSEMBLY

25

01023-60514

SCREW

26

20Y-06-41551

WIRING HARNESS

27

22B-54-18550

GROMMET

28

04434-50610

CLIP

29

01010-D1016

BOLT

30

01643-71032

WASHER

31

22B-954-1630

PLATE

32

01010-D1020

BOLT

33

01643-71032

WASHER

34

08059-00413

CLIP

35

208-53-14470

PLATE

36

01010-D0620

BOLT

37

01643-70623

WASHER

38

09620-D2000

PLATE WARNING

39

04418-13060

SCREW

40

09620-A3000

DECAL

Выбрано товаров: 40