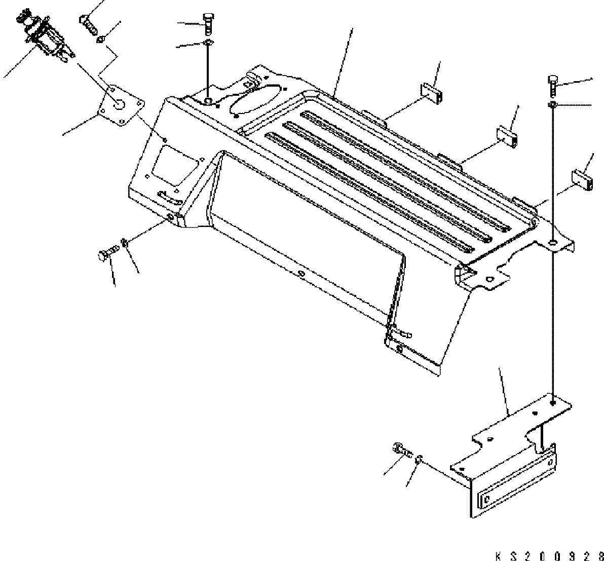
Запчасти Komatsu PC450-8 OPERATORґS КАБИНА (КАБИНА IN ЧАСТИ) (LUGGAGE COVER) K OPERATORґS ОБСТАНОВКА И СИСТЕМА УПРАВЛЕНИЯ

Схема запчастей Komatsu PC450-8 - OPERATORґS КАБИНА (КАБИНА IN ЧАСТИ) (LUGGAGE COVER) K OPERATORґS ОБСТАНОВКА И СИСТЕМА УПРАВЛЕНИЯ
9
10
11
8
3
4
1
3
4
2
2
3
4
2
5
6
7
FIT
1:1
100%

Артикул

Название

Примечание

Количество

1

20Y-53-13617

COVER ASSEMBLY

|1

20Y-53-13616

COVER ASSEMBLY

|1

COVER

2

208-53-12460

SEAT

3

01010-D0825

BOLT

4

01643-70823

WASHER

5

20Y-53-12771

PLATE

6

01010-D0825

BOLT

7

01643-70823

WASHER

8

20Y-53-13680

PLATE

9

01245-00616

SCREW

10

01643-70623

WASHER

11

20Y-06-23472

CIGARETTE LIGHTER

Выбрано товаров: 13