Запчасти Komatsu PC450-8 OPERATORґS КАБИНА (ПОЛ) (ОСНОВ.) (№K8-K9) K OPERATORґS ОБСТАНОВКА И СИСТЕМА УПРАВЛЕНИЯ

Схема запчастей Komatsu PC450-8 - OPERATORґS КАБИНА (ПОЛ) (ОСНОВ.) (№K8-K9) K OPERATORґS ОБСТАНОВКА И СИСТЕМА УПРАВЛЕНИЯ
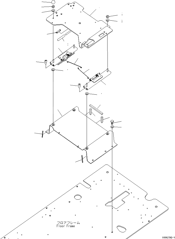
1
2
2
3
4
4
5
6
7
8
9
10
11
12
13
14
15
15
16
16
17
17
18
19
FIT
1:1
100%

Артикул

Название

Примечание

Количество

1

20Y-43-41230

FRAME

2

208-43-71520

SEAL

3

208-43-71530

SEAL

4

208-43-71590

SEAL

5

01010-81230

BOLT

6

01643-31232

WASHER

7

20Y-43-41812

ADJUSTER

8

01245-01025

SCREW

9

20Y-43-41822

ADJUSTER

10

01245-01025

SCREW

11

20Y-43-41831

WIRE

12

20Y-43-41890

WIRE

13

22U-43-21390

CAP

14

20Y-43-41251

FRAME

15

20Y-54-65340

NUT

16

01643-71032

WASHER

17

01640-21016

WASHER

18

20Y-54-65540

CAP

19

20Y-979-6630

CATCHER

Выбрано товаров: 19