Запчасти Komatsu PC450LC-6K-J ПОВОРОТН. КРУГ(№-) ПОВОРОТН. КРУГ И КОМПОНЕНТЫ

Схема запчастей Komatsu PC450LC-6K-J - ПОВОРОТН. КРУГ(№-) ПОВОРОТН. КРУГ И КОМПОНЕНТЫ
1
2
2
3
4
5
6
7
8
9
10
11
12
13
14
15
FIT
1:1
100%

Артикул

Название

Примечание

Количество

1

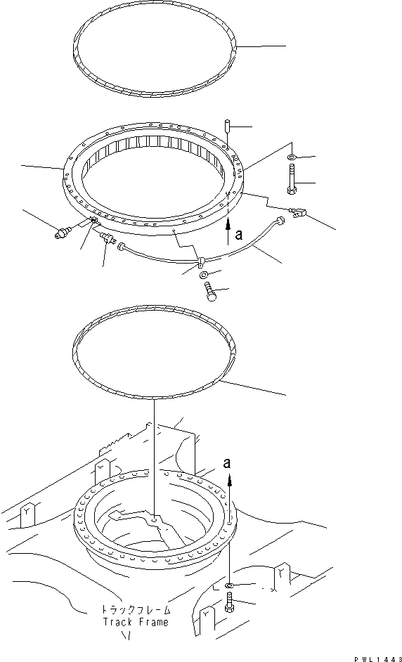
208-25-61100

SWING CIRCLE ASS'Y

2

207-25-61160

..SEAL

3

205-25-71280

.NIPPLE

4

207-25-31180

BOLT

5

01643-72460

WASHER

|5

01643-32460

WASHER

6

04020-01842

PIN

7

208-25-62110

TUBE

8

20Y-25-11270

ELBOW

9

07020-00000

FITTING

10

07214-50813

CONNECTOR

11

08036-00814

CLIP

12

01010-81020

BOLT

13

01643-31032

WASHER

14

208-25-61230

BOLT

15

01643-72780

WASHER

|15

01643-32780

WASHER

Выбрано товаров: 17