Запчасти Komatsu PC450LC-6K НАВЕСН. ОБОРУД P.P.C. ЛИНИЯ (E.P.C.) ( АКТУАТОР) (/)(№K-) КАБИНА ОПЕРАТОРА И СИСТЕМА УПРАВЛЕНИЯ

Схема запчастей Komatsu PC450LC-6K - НАВЕСН. ОБОРУД P.P.C. ЛИНИЯ (E.P.C.) ( АКТУАТОР) (/)(№K-) КАБИНА ОПЕРАТОРА И СИСТЕМА УПРАВЛЕНИЯ
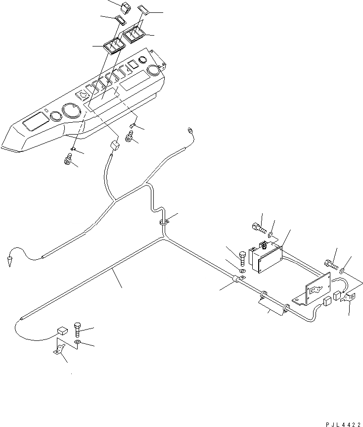
1
2
3
4
5
6
7
8
9
10
11
12
13
13
14
15
16
17
17
18
18
19
20
20
FIT
1:1
100%

Артикул

Название

Примечание

Количество

1

08053-01512

CLIP

2

01010-81220

BOLT

3

01643-31232

WASHER

4

20Y-970-K580

CONTROLLER

5

01252-60510

BOLT

6

01601-20513

WASHER,SPRING

|7

20Y-06-K1661

SWITCH ASS'Y

7

20Y-06-K1720

SWITCH

8

206-06-K1730

PLATE

9

08036-01014

CLIP

10

01010-81016

BOLT

11

01643-31032

WASHER

12

20Y-06-K3260

WIRING HARNESS

13

08034-00519

BAND

14

08053-01510

CLIP

15

01010-81016

BOLT

16

01643-31032

WASHER

17

207-06-K2290

BRACKET

18

20E-06-K1920

BRACKET

19

20E-06-K1610

COVER

20

01023-10510

SCREW

Выбрано товаров: 21